Задний тормоз
Задний тормоз
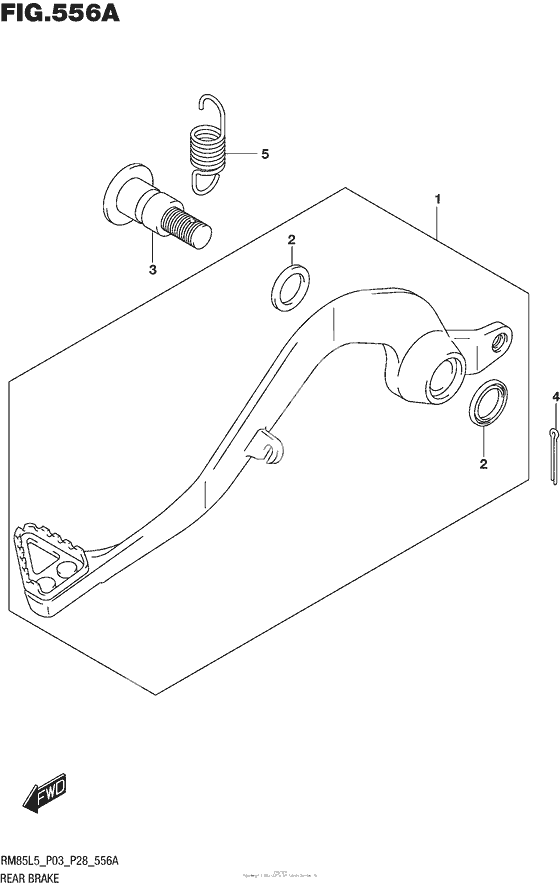
PEDAL ASSY,BRAKE (Ref #1)
1
Part #43100-03B10-000
SEAL,OIL(15X21X3) (Ref #2)
2
Part #09284-15006-000
SHAFT PEDAL (Ref #3)
3
Part #43142-37F00-000
20 x 20 cotter (Ref #4)
4
Part #04111-2020A-000
Пружина (Ref #5)
5
Part #09443-13024-000
-
-
Цена: 2 750.00 р.
Доступно: 1
-
