Задний тормозной цилиндр (Rm85L5 P28)
Задний тормозной цилиндр (Rm85L5 P28)
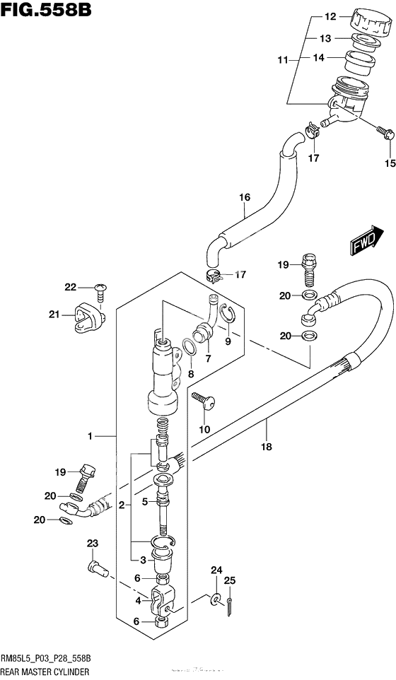
CYLINDER ASSY,RR MASTER (Ref #1)
1
Part #69600-03B00-000
PISTON/CUP SET (Ref #2)
2
Part #69600-04820-000
Ботинок (Ref #3)
3
Part #69691-00A00-000
Ботинок (Ref #4)
4
Part #69692-37F20-000
Rod,push (Ref #5)
5
Part #69670-40A00-000
Гайка (Ref #6)
6
Part #69693-05A00-000
Коннектор (Ref #7)
7
Part #69672-00B20-000
Кольцо уплотнительное (Ref #8)
8
Part #69686-34200-000
Circlip (Ref #9)
9
Part #69674-00B20-000
Болт (Ref #10)
10
Part #09139-06139-000
TANK ASSY,RR BRAKE RESERVOIR (Ref #11)
11
Part #69740-03D00-000
Cap (Ref #12)
12
Part #69669-03D00-000
Plate (Ref #13)
13
Part #69668-00B20-000
Diaphragm (Ref #14)
14
Part #69667-00B20-000
Болт (Ref #15)
15
Part #01547-0612A-000
HOSE,RESERVOIR TANK (Ref #16)
16
Part #69731-02B50-000
CLAMP,RESERVOIR HOSE (Ref #17)
17
Part #69735-00B20-000
HOSE,RR BRAKE (Ref #18)
18
Part #69480-03B60-000
Bolt (Ref #19)
19
Part #09360-10062-000
Шайба (Ref #20)
20
Part #09161-10009-000
GUIDE,RR BRAKE HOSE (Ref #21)
21
Part #61196-00B21-000
Винт 5X10 (Ref #22)
22
Part #02142-0510B-000
PIN(8X20) (Ref #23)
23
Part #09200-08048-000
Штанга передачи (Ref #24)
24
Part #09160-08090-000
20 x 15 cotter (Ref #25)
25
Part #04111-2015A-000
