Cylinder/piston
Cylinder/piston
-
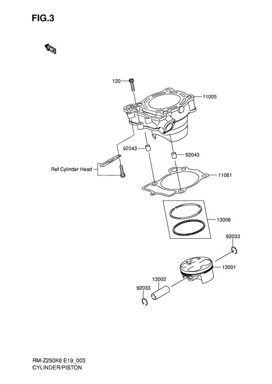
13002K1300-20002-000
Палец поршня
1Replaced by K1300-20018-000 Доступно: Нет в наличии
-
13008K1300-80003-000
Набор колец поршня
1Replaced by K1300-80028-000 Доступно: Нет в наличии
-
-
Цена: 4 900.00 р.
Доступно: 0
-
Цена: 5 370.00 р.
Доступно: 4
-
