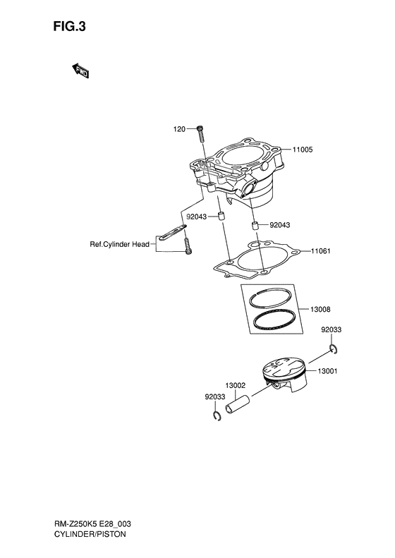
Cylinder/piston

Cylinder/piston

Cylinder/piston
Болт ,6X25 (Ref #120)
120
Part #K120C-A0625-000
+ -