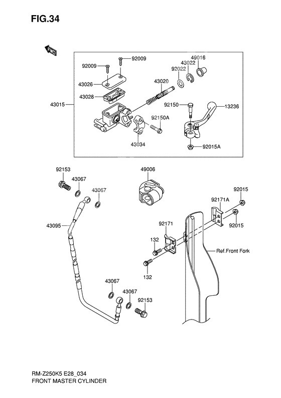
Front master cylinder
Front master cylinder
-
13236K1323-60070-000
Рукоятка переднего тормоза
1Replaced by K1323-61346-000 Доступно: Нет в наличии
-
43015K4301-50041-000
Цилиндр главный, передний
1Replaced by K4301-50167-000 Доступно: Нет в наличии
-
43020K4302-01123-000
Поршень тормоза
1Replaced by K4302-00016-000 Доступно: Нет в наличии
-
43067KK430-67001-000
Шайба,10.5X15X1.5
4Replaced by K4909-10001-000 Доступно: Нет в наличии
-
49006K4900-61344-000
Boot,front brake lever
1Replaced by K4900-60078-000 Доступно: Нет в наличии
-
49016K4901-61044-000
Крышка главного цилиндра, уплотнительная
1Доступно: Нет в наличии
