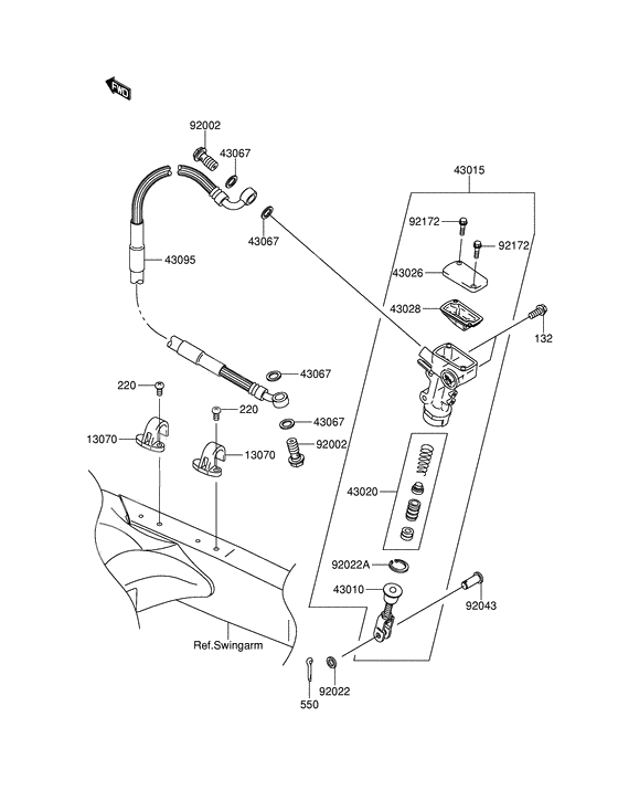
Rear master cylinder
Rear master cylinder
Болт малый (Ref #132)
132
Part #K132B-A0614-000
Винт ,5X10 (Ref #220)
220
Part #K220A-A0510-000
Винт ,5X10 (Ref #220)
220
Part #K220A-A0510-000
Винт ,5X10 (Ref #220)
220
Part #K220A-A0510-000
Винт ,5X10 (Ref #220)
220
Part #K220A-A0510-000
Шпонка,2.0X15 (Ref #550)
550
Part #K550A-A2015-000
-
550KK550-D2015-000
Шпонка,2.0X15
1Replaced by K550A-A2015-000 Доступно: Нет в наличии
-
43067KK430-67001-000
Шайба,10.5X15X1.5
4Replaced by K4909-10001-000 Доступно: Нет в наличии
-
92022AK9202-21601-000
Шайба зажима
1Replaced by K9203-30079-000 Доступно: Нет в наличии
