Carburetor assy Model t
Carburetor assy Model t
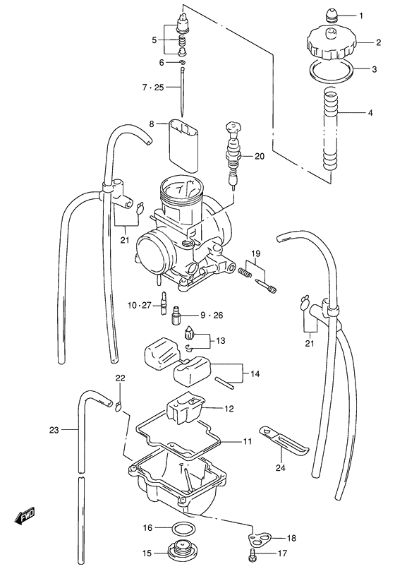
CAP,CARBURETOR (Ref #1)
1
Part #13681-28E00-000
Cap,top (Ref #2)
2
Part #13261-28E00-000
GASKET,TOP CAP (Ref #3)
3
Part #13266-28E00-000
Пружина (Ref #4)
4
Part #13573-28E00-000
HOLDER SET,CABLE (Ref #5)
5
Part #13581-28E00-000
CLIP,NEEDLE (Ref #6)
6
Part #13394-28E00-000
Жиклер (Ref #7)
7
Part #13383-43D50-000
VALVE,PISTON(CA:5.0) (Ref #8)
8
Part #13551-29E10-000
JET,MAIN(172) (Ref #9)
9
Part #09491-34011-000
Жиклерпроводник (Ref #10)
10
Part #09492-58001-000
Прокладка муфты (Ref #11)
11
Part #13696-28E00-000
Holder (Ref #12)
12
Part #13331-28E00-000
VALVE SET,FLOAT (Ref #13)
13
Part #13370-28E00-000
FLOAT SET (Ref #14)
14
Part #13240-28E00-000
Болт сквозной (Ref #15)
15
Part #13247-28E00-000
O ring (Ref #16)
16
Part #13246-28E00-000
Болт (Ref #17)
17
Part #02112-3416B-000
Plate (Ref #18)
18
Part #13693-36E00-000
SCREW SET,AIR (Ref #19)
19
Part #13280-28E00-000
BLEEDER (Ref #20)
20
Part #13410-28E00-000
Шланг (Ref #21)
21
Part #13680-37E00-000
Шланг (Ref #21)
21
Part #13680-37E00-000
Шланг (Ref #21)
21
Part #13680-37E00-000
Шланг (Ref #21)
21
Part #13680-37E00-000
Clip (Ref #22)
22
Part #09401-06101-000
HOSE(3.5X6.5X600) (Ref #23)
23
Part #09351-35653-600
Струбцина катушки (Ref #24)
24
Part #09404-06429-000
BLEEDER (Ref #25)
25
Part #13383-28E80-000
BLEEDER (Ref #25)
25
Part #13383-28E70-000
NEEDLE(R1468MS) (Ref #25)
25
Part #13383-43D40-000
BLEEDER (Ref #25)
25
Part #13383-28E60-000
Needle,r1468ns (Ref #25)
25
Part #13383-43D30-000
Жиклер (Ref #25)
25
Part #13383-37E10-000
Жиклер (Ref #25)
25
Part #13383-37E00-000
Жиклер (Ref #25)
25
Part #13383-28E50-000
BLEEDER (Ref #25)
25
Part #13383-28E20-000
BLEEDER (Ref #25)
25
Part #13383-28E40-000
BLEEDER (Ref #25)
25
Part #13383-28E30-000
BLEEDER (Ref #25)
25
Part #13383-28E10-000
BLEEDER (Ref #25)
25
Part #13383-28E00-000
Needle,r1467ms (Ref #25)
25
Part #13383-43D60-000
BLEEDER (Ref #25)
25
Part #13383-28E90-000
JET,MAIN(205) (Ref #26)
26
Part #09491-41001-000
Жиклер главный (Ref #26)
26
Part #09491-40013-000
JET,MAIN(195) (Ref #26)
26
Part #09491-39001-000
Жиклер главный (190) (Ref #26)
26
Part #09491-38011-000
Жиклер главный (180) (Ref #26)
26
Part #09491-36008-000
Жиклер главный (185) (Ref #26)
26
Part #09491-37008-000
JET,MAIN(178) (Ref #26)
26
Part #09491-35010-000
Жиклер главный (165) (Ref #26)
26
Part #09491-33009-000
Jet, main (230) (Ref #26)
26
Part #09491-46004-000
Жиклер главный (160) (Ref #26)
26
Part #09491-32010-000
JET,MAIN(225) (Ref #26)
26
Part #09491-45003-000
JET,MAIN(168) (Ref #26)
26
Part #09491-33010-000
Jet, main (220) (Ref #26)
26
Part #09491-44006-000
Жиклер главный 170 (Ref #26)
26
Part #09491-34010-000
JET,MAIN(162) (Ref #26)
26
Part #09491-32011-000
Jet, main (215) (Ref #26)
26
Part #09491-43001-000
JET,MAIN(210) (Ref #26)
26
Part #09491-42006-000
Жиклер главный (175) (Ref #26)
26
Part #09491-35009-000
JET,SLOW(55) (Ref #27)
27
Part #09492-55017-000
JET,SLOW(60) (Ref #27)
27
Part #09492-60016-000
Жиклер (Ref #27)
27
Part #09492-52011-000
Жиклер пропускной (35) (Ref #27)
27
Part #09492-35019-000
JET,PILOT(45) (Ref #27)
27
Part #09492-45032-000
Жиклер (40) (Ref #27)
27
Part #09492-40022-000
JET,SLOW(50) (Ref #27)
27
Part #09492-50023-000
