Боковые панели
Боковые панели
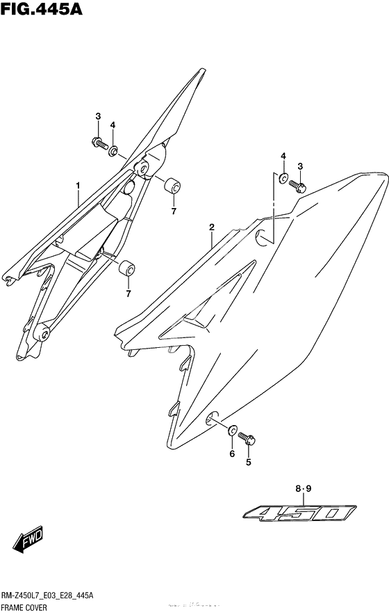
Cover,frame r (Ref #1)
1
Part #47111-28H02-019
COVER,FRAME,L (Ref #2)
2
Part #47211-28H00-019
Болт (Ref #3)
3
Part #01547-0620A-000
Washer, front (Ref #4)
4
Part #47191-28H00-000
Болт (Ref #5)
5
Part #01547-0616A-000
Cushion (Ref #7)
7
Part #47161-08G00-000
TAPE,FRAME COVER,R (Ref #8)
8
Part #68135-28H00-GY8
TAPE,FRAME COVER,L (Ref #9)
9
Part #68145-28H00-GY8
