Задний тормозной цилиндр
Задний тормозной цилиндр
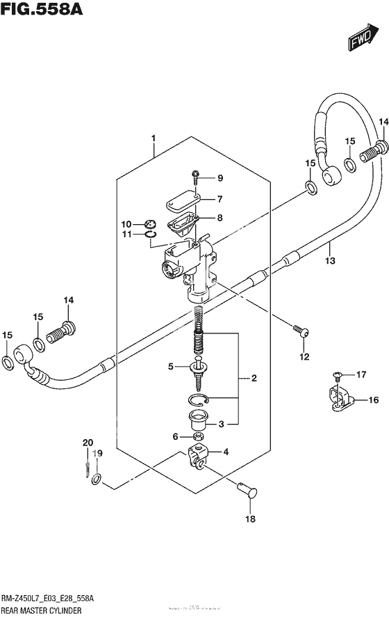
Cylinder assy,rear master (Ref #1)
1
Part #69604-28H10-000
PISTON/CUP SET (Ref #2)
2
Part #69600-35811-000
Ботинок (Ref #3)
3
Part #69691-00A00-000
Ботинок (Ref #4)
4
Part #69692-35G00-000
Штанга (Ref #5)
5
Part #69670-28H00-000
Гайка (Ref #6)
6
Part #51212-77500-000
Cap (Ref #7)
7
Part #69669-28H00-000
Diaphragm (Ref #8)
8
Part #69667-37F20-000
Болт (Ref #9)
9
Part #69689-37F30-000
Сепаратор (Ref #10)
10
Part #59748-36E00-000
Ring (Ref #11)
11
Part #69744-36E00-000
Болт (Ref #12)
12
Part #09139-06139-000
Hose comp,rear brake (Ref #13)
13
Part #69480-28H10-000
UNION (Ref #14)
14
Part #09360-10065-000
Шайба (Ref #15)
15
Part #09161-10009-000
GUIDE,RR BRAKE HOSE (Ref #16)
16
Part #61196-27C40-000
Винт 5X10 (Ref #17)
17
Part #02142-0510B-000
PIN(8X20) (Ref #18)
18
Part #09200-08048-000
Штанга передачи (Ref #19)
19
Part #09160-08090-000
20 x 15 cotter (Ref #20)
20
Part #04111-2015A-000
-
-
Цена: 4 900.00 р.
Доступно: 0
