Turnsignal front & rear lamp
Turnsignal front & rear lamp
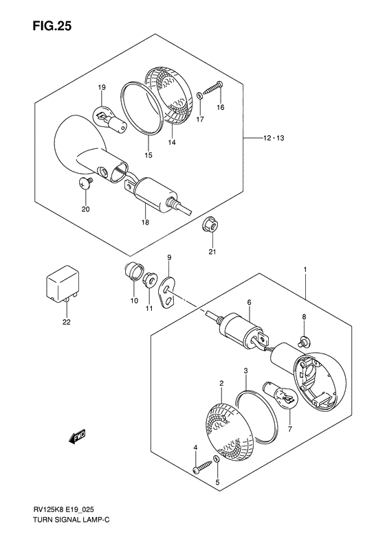
LAMP ASSY,FR TURN SIGNAL (Ref #1)
1
Part #35601-33D30-000
Линза (Ref #2)
2
Part #35612-38A01-000
Прокладка (Ref #3)
3
Part #35613-38A00-000
Болт (Ref #4)
4
Part #03211-0425B-000
GASKET (Ref #5)
5
Part #35627-43010-000
STAY,TURNSIGNAL FR (Ref #6)
6
Part #35619-45C10-000
BULB(12V21W) (Ref #7)
7
Part #09471-12045-000
Screw (Ref #8)
8
Part #35623-38A01-000
BRACKET,FR TURNSIGNAL (Ref #9)
9
Part #35671-13G50-000
Крышка (Ref #10)
10
Part #35698-01480-000
Гайка (Ref #11)
11
Part #08316-1010B-000
LAMP ASSY,RR TURNSIGNAL,R (Ref #12)
12
Part #35603-33DC0-000
LAMP ASSY,RR TURNSIGNAL,L (Ref #13)
13
Part #35604-33DC0-000
Линза (Ref #14)
14
Part #35652-38A21-000
Болт (Ref #16)
16
Part #03211-0425A-000
RELAY ASSY,TURNSIGNAL LAMP (Ref #22)
22
Part #38610-03F01-000
-
2238610-03F00-000
RELAY ASSY,TURNSIGNAL LAMP
1Replaced by 38610-03F01-000 Доступно: Нет в наличии
