Muffler comp
Muffler comp
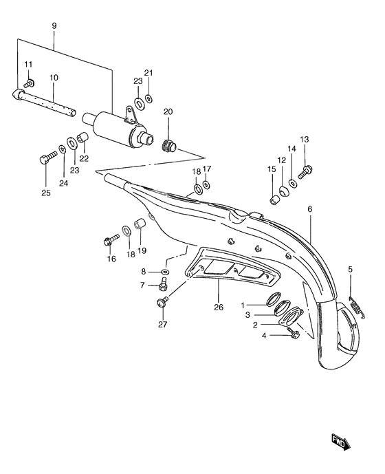
Прокладка трубы (Ref #1)
1
Part #14181-28080-000
CLAMP,EXHAUST PIPE (Ref #2)
2
Part #14182-28000-000
CUSHION,EXHAUST PIPE (Ref #3)
3
Part #14184-28011-000
Болт (Ref #4)
4
Part #01570-0625B-000
Spring (Ref #5)
5
Part #09443-11002-000
Muffler assy (Ref #6)
6
Part #14301-29910-H01
Muffler, 1st (Ref #6)
6
Part #14301-29920-000
Заглушка дренажная (Ref #7)
7
Part #09128-10002-000
Прокладка (Ref #8)
8
Part #09168-10002-000
MUFFLER ASSY,2ND (Ref #9)
9
Part #14303-29900-000
BODY,MUFFLER 2ND (Ref #9)
9
Part #14303-29950-000
PIPE,BAFFLE (Ref #10)
10
Part #14510-48000-000
PIPE,BAFFLE (Ref #10)
10
Part #14510-30500-000
Болт (Ref #11)
11
Part #02112-3608A-000
DAMPER,MUFFLER,FR (Ref #12)
12
Part #14772-30500-000
Bolt(8x35) (Ref #13)
13
Part #09118-08147-000
Шайба (Ref #14)
14
Part #09160-08134-000
Прокладка (Ref #15)
15
Part #09180-08302-000
Bolt (Ref #16)
16
Part #01500-08257-000
Шайба (Ref #17)
17
Part #09160-08054-000
Cushion (Ref #18)
18
Part #09320-14006-000
Cushion (Ref #18)
18
Part #09320-14006-000
Cushion (Ref #18)
18
Part #09320-14006-000
Cushion (Ref #18)
18
Part #09320-14006-000
SPACER(8.5X14X9.8) (Ref #19)
19
Part #09180-08200-000
Коннектор (Ref #20)
20
Part #14771-43D00-000
Кольцо/шайба (Ref #22)
22
Part #09180-08201-000
Пластина замка (Ref #24)
24
Part #08321-01087-000
Bolt(8x25) (Ref #25)
25
Part #09118-08119-000
Крышка глушителя (Ref #26)
26
Part #14781-29900-000
-
1509180-08048-000
Spacer (8*12*15)
1Replaced by 09180-08302-000 Доступно: Нет в наличии
