Seat Model k1 e71
Seat Model k1 e71
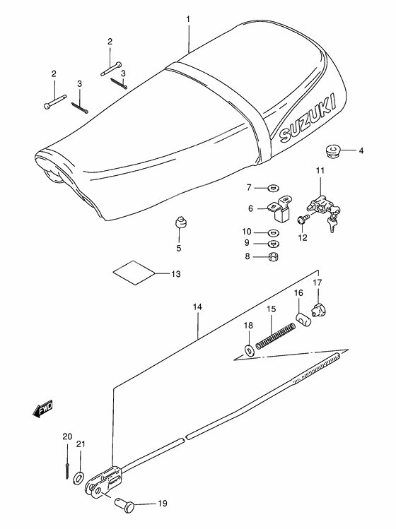
SEAT ASSY (Ref #1)
1
Part #45100-29960-BK9
Seat assy (purple) (mark suzuk (Ref #1)
1
Part #45100-29960-K0E
SEAT ASSY (Ref #1)
1
Part #45100-29960-K0F
Pin (Ref #2)
2
Part #09200-06018-000
Pin (Ref #2)
2
Part #09200-06018-000
Pin (Ref #2)
2
Part #09200-06018-000
Pin (Ref #2)
2
Part #09200-06018-000
20 x 15 cotter (Ref #3)
3
Part #04111-2015A-000
20 x 15 cotter (Ref #3)
3
Part #04111-2015A-000
20 x 15 cotter (Ref #3)
3
Part #04111-2015A-000
20 x 15 cotter (Ref #3)
3
Part #04111-2015A-000
Cushion (Ref #4)
4
Part #09320-20004-000
Cushion (Ref #5)
5
Part #09321-08010-000
PLATE,CLAMP GUIDE (Ref #6)
6
Part #45213-29300-000
Тонкая прокладка сидения (Ref #7)
7
Part #09160-08043-000
Гайка (Ref #8)
8
Part #08310-0006A-000
Гайка (Ref #8)
8
Part #08310-0006B-000
Пластина замка (Ref #9)
9
Part #08321-0106A-000
Шайба (Ref #10)
10
Part #08322-0106B-000
LOCK ASSY,SEAT (Ref #11)
11
Part #95700-30832-000
Винт (Ref #12)
12
Part #02112-3512A-000
Крышка (Ref #13)
13
Part #94982-48500-000
ROD ASSY,RR BRAKE (Ref #14)
14
Part #43300-29910-000
Spring (Ref #15)
15
Part #09440-09004-000
Стопор (Ref #16)
16
Part #09209-13018-000
Гайка (Ref #17)
17
Part #09150-05101-000
PIN(L:13.5) (Ref #19)
19
Part #09200-06013-000
20 x 20 cotter (Ref #20)
20
Part #04111-2020A-000
-
304111-20158-000
20 x 15 cotter
2Replaced by 04111-2015A-000 Доступно: Нет в наличии
-
908321-01063-000
Шайба, стопорная
2Replaced by 08321-0106A-000 Доступно: Нет в наличии
-
2004111-20208-000
20 x 20 cotter
1Replaced by 04111-2020A-000 Доступно: Нет в наличии
