Вилка передней оси
Вилка передней оси
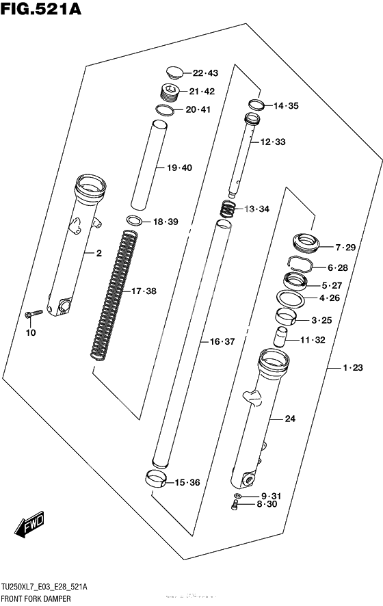
DAMPER ASSY,FR FORK,R (Ref #1)
1
Part #51103-26G00-000
TUBE,OUTER,R (Ref #2)
2
Part #51130-26G00-000
BUSH,GUIDE (Ref #3)
3
Part #51152-25D00-000
Spacer, seal (Ref #4)
4
Part #51168-38A00-000
Сальник (Ref #5)
5
Part #51153-03B30-000
Кольцо (Ref #6)
6
Part #51156-03B30-000
Уплотнение (Ref #7)
7
Part #51173-25D00-000
BOLT(8X27) (Ref #8)
8
Part #51147-48130-000
GASKET (Ref #9)
9
Part #51148-36011-000
Bolt (Ref #10)
10
Part #07130-08357-000
PIECE,OIL LOCK (Ref #11)
11
Part #51195-25D00-000
CYLINDER (Ref #12)
12
Part #51146-25D00-000
SPRING,REBOUND (Ref #13)
13
Part #51177-25D00-000
RING,PISTON (Ref #14)
14
Part #51196-25D00-000
BUSH,SLIDE (Ref #15)
15
Part #51121-03B30-000
TUBE,INNER (Ref #16)
16
Part #51110-25D00-000
SPRING,MAIN (Ref #17)
17
Part #51171-26G00-000
JOINT,SPRING (Ref #18)
18
Part #51192-25D00-000
SPACER,SPRING (Ref #19)
19
Part #51176-25D00-000
O ring (Ref #20)
20
Part #51117-25D00-000
BOLT,FORK (Ref #21)
21
Part #51189-25D00-000
CAP,FORK (Ref #22)
22
Part #51351-03D00-000
DAMPER ASSY,FR FORK,L (Ref #23)
23
Part #51104-26G00-000
TUBE,OUTER,L (Ref #24)
24
Part #51140-26G00-000
