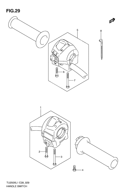
Handle switch
Handle switch
Switch assy, handle rh (Ref #1)
1
Part #37200-25DA1-000
Болт (Ref #2)
2
Part #02112-0530B-000
Болт (Ref #3)
3
Part #02112-0550B-000
Bolt (Ref #4)
4
Part #02112-0510A-000
SWITCH ASSY,HANDLE,L (Ref #5)
5
Part #37400-25D50-000
Болт (Ref #6)
6
Part #02112-0525B-000
Болт (Ref #7)
7
Part #02112-0545B-000
Clamp (l:145) (Ref #8)
8
Part #09407-14407-000
-
137200-25DA0-000
Switch assy, handle rh
1Replaced by 37200-25DA1-000 Доступно: Нет в наличии
