Вилка передней оси
Вилка передней оси
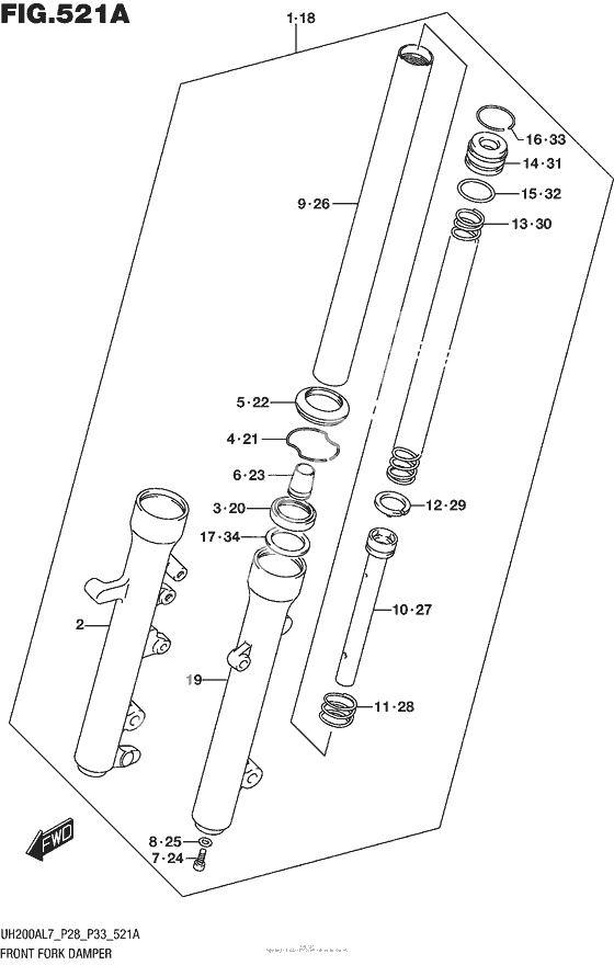
Damper assy, front fork rh (Ref #1)
1
Part #51103-12J50-000
Tube,outer rh (Ref #2)
2
Part #51131-12J50-000
Seal,oil (Ref #3)
3
Part #51153-26B00-000
RING,OIL SEAL STOPPER (Ref #4)
4
Part #51156-02B00-000
Уплотнение (Ref #5)
5
Part #51571-26B00-000
Piece, oil lock (Ref #6)
6
Part #51195-12J40-000
BOLT(8X27) (Ref #7)
7
Part #51147-48130-000
GASKET (Ref #8)
8
Part #51148-36011-000
TUBE,INNER (Ref #9)
9
Part #51110-12J40-000
Pipe seat (Ref #10)
10
Part #51194-12J40-000
Пружина (Ref #11)
11
Part #51177-15500-000
Кольцо поршневое (Ref #12)
12
Part #51196-20H00-000
SPRING,FR (Ref #13)
13
Part #51171-12J40-000
CUP (Ref #14)
14
Part #51175-12J40-000
O ring (Ref #15)
15
Part #51117-20H00-000
Кольцо (Ref #16)
16
Part #51156-20H00-000
SEAL,SPACER (Ref #17)
17
Part #51168-02B00-000
Damper assy, front fork lh (Ref #18)
18
Part #51104-12J40-000
Tube,outer lh (Ref #19)
19
Part #51141-12J40-000
