Система вентиляции бензобака (Vl800L6 E33)
Система вентиляции бензобака (Vl800L6 E33)
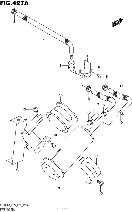
HOSE,TANK & BREATHER VALVE (Ref #1)
1
Part #44434-39G01-000
Clip (Ref #2)
2
Part #09401-11413-000
VALVE,FUEL TANK BREATHER (Ref #3)
3
Part #44240-17C00-000
PLATE,FUEL TANK BREATHER NO.2 (Ref #4)
4
Part #44892-24A00-000
Cushion (Ref #5)
5
Part #44894-24A00-000
Болт (Ref #6)
6
Part #02142-0408A-000
HOSE,BREATHER VALVE & CANISTER (Ref #7)
7
Part #44435-39G10-000
Адсорбер с активированным углем (Ref #9)
9
Part #17200-17H01-000
Крепёж (Ref #10)
10
Part #09401-12404-000
CAP(OD:11.5) (Ref #11)
11
Part #09251-07003-000
BRACKET,FI CONTROL UNIT (Ref #12)
12
Part #44880-43H00-000
Болт (Ref #13)
13
Part #09139-06108-000
HOLDER,CANISTER (Ref #14)
14
Part #44882-26E00-000
Болт (Ref #15)
15
Part #02142-0610A-000
CUSHION,CANISTER (Ref #16)
16
Part #44883-26E00-000
HOSE,CSTR PURGE (Ref #17)
17
Part #44436-43H00-000
-
917200-17H00-000
Адсорбер с активированным углем
1Replaced by 17200-17H01-000 Доступно: Нет в наличии
