Пульт управления рулевой (Vl1500Tl7 E33)
Пульт управления рулевой (Vl1500Tl7 E33)
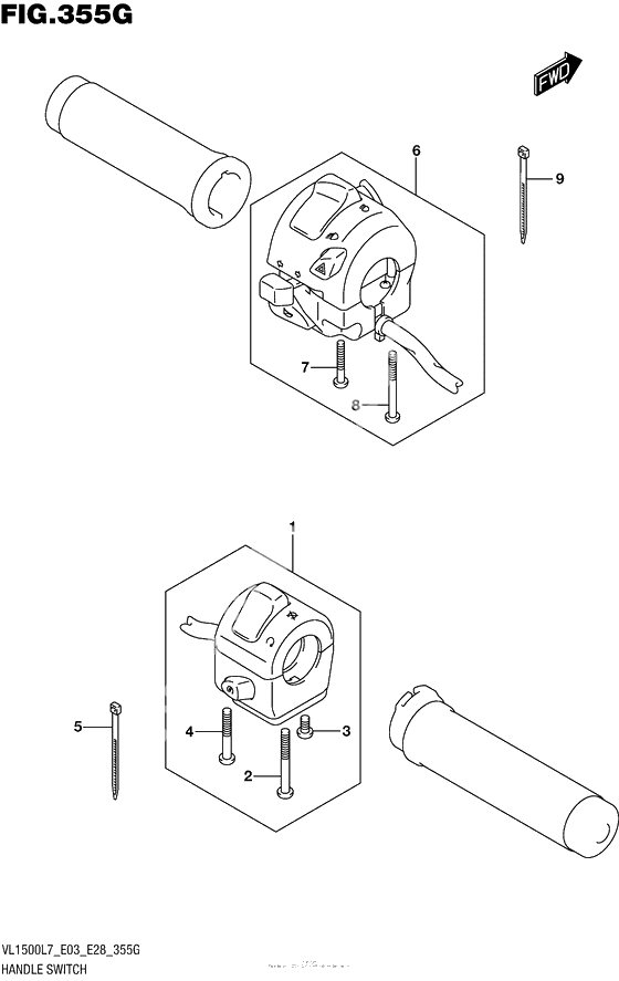
SWITCH ASSY,HANDLE,R (Ref #1)
1
Part #37200-48GA1-000
Болт (Ref #2)
2
Part #02112-0545B-000
Болт (Ref #3)
3
Part #02112-0510B-000
Болт (Ref #4)
4
Part #02112-0535B-000
Clamp (l:145) (Ref #5)
5
Part #09407-14407-000
SWITCH ASSY,HANDLE,L (Ref #6)
6
Part #37400-48G60-000
Болт (Ref #7)
7
Part #02112-0530B-000
