Аккумулятор
Аккумулятор
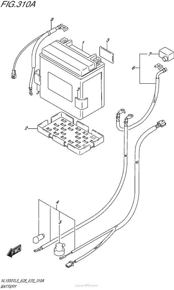
Battery assy (Ref #1)
1
Part #33610-03G10-000
Протектор (Ref #2)
2
Part #33652-16G00-000
CUSHION(30X50X3) (Ref #3)
3
Part #33652-36000-000
WIRE,STARTER MOTOR LEAD (Ref #4)
4
Part #33810-06J01-000
Крышка переключателя (Ref #5)
5
Part #36618-43410-000
WIRE,BATTERY PLUS LEAD (Ref #6)
6
Part #33820-06J00-000
CAP,BATTERY PLUS (Ref #7)
7
Part #33624-16E00-000
WIRE,BATTERY MINUS LEAD (Ref #8)
8
Part #33860-40H00-000
-
433810-06J00-000
WIRE,STARTER MOTOR LEAD
1Replaced by 33810-06J01-000 Доступно: Нет в наличии
