Электрооборудование (Vl1500Btl3 E03)
Электрооборудование (Vl1500Btl3 E03)
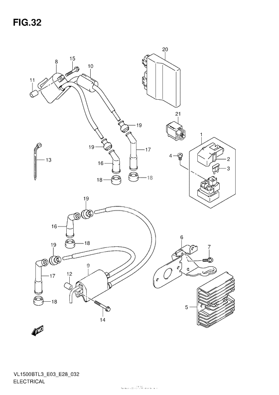
Реле стартера (Ref #1)
1
Part #31800-06G01-000
Крышка (Ref #2)
2
Part #31861-47E00-000
Предохранитель (Ref #3)
3
Part #09481-30101-000
SCREW(6X8) (Ref #4)
4
Part #09128-06013-000
Rectifier assy (Ref #5)
5
Part #32800-10G30-000
BRACKET,RECT FTG (Ref #6)
6
Part #32830-40H10-000
Болт (Ref #7)
7
Part #02162-0616B-000
COIL ASSY,IGNITION RR (Ref #8)
8
Part #33410-40H01-000
COIL ASSY,IGUNITION FR (Ref #9)
9
Part #33420-40H11-000
CUSHION,HIGH TENSION CORD (Ref #10)
10
Part #33442-41F00-000
SPACER(6.4X10X22) (Ref #11)
11
Part #09180-06178-000
SPACER(6.2X12X16) (Ref #12)
12
Part #09180-06198-000
Струбцина (L:165) (Ref #13)
13
Part #09407-18402-000
Болт (Ref #14)
14
Part #01547-0635A-000
Болт (Ref #15)
15
Part #01547-0640A-000
Колпак заглушки (Ref #16)
16
Part #33510-38B00-000
Колпачок свечи зажигания (Ref #17)
17
Part #33510-45010-000
Уплотнение (Ref #18)
18
Part #33541-47D00-000
Уплотнение (Ref #19)
19
Part #33542-38B00-000
CONTROL UNIT,FI (Ref #20)
20
Part #32920-06J60-000
SENSOR ASSY,FUEL CUT (Ref #21)
21
Part #33960-06G10-000
-
833410-40H00-000
COIL ASSY,IGNITION RR
1Replaced by 33410-40H01-000 Доступно: Нет в наличии
-
933420-40H10-000
COIL ASSY,IGNITION FR
1Replaced by 33420-40H11-000 Доступно: Нет в наличии
