Rear fender Model y
Rear fender Model y
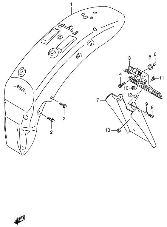
Fender, rear (green) (Ref #1)
1
Part #63110-38A00-Y7K
FENDER,RR (Ref #1)
1
Part #63110-38A00-19A
FENDER,RR (Ref #1)
1
Part #63110-38A00-33J
Болт (Ref #2)
2
Part #01550-0610A-000
Болт (Ref #2)
2
Part #01550-0610A-000
Болт (Ref #2)
2
Part #01550-0610A-000
Болт (Ref #2)
2
Part #01550-0610A-000
Болт (Ref #2)
2
Part #01550-0610B-000
Болт (Ref #2)
2
Part #01550-0610B-000
Болт (Ref #2)
2
Part #01550-0610B-000
Болт (Ref #2)
2
Part #01550-0610B-000
BRACKET,LICENSE LAMP (Ref #3)
3
Part #35920-38A00-000
Bolt(6x20) (Ref #4)
4
Part #09116-06167-000
Cushion (Ref #5)
5
Part #35765-38A30-000
Кольцо/шайба (Ref #6)
6
Part #35766-38A00-000
EXTENSION,RR FENDER (Ref #7)
7
Part #63311-38A20-000
Болт (Ref #8)
8
Part #02142-0616A-000
Шайба (Ref #9)
9
Part #09169-06037-000
Гайка (Ref #10)
10
Part #09319-31063-000
Болт (Ref #11)
11
Part #02112-0616B-000
Болт (Ref #11)
11
Part #02112-0616A-000
SPACER(6.2X8.3X6.1) (Ref #12)
12
Part #09180-06092-000
Гайка (Ref #13)
13
Part #08319-3106A-000
