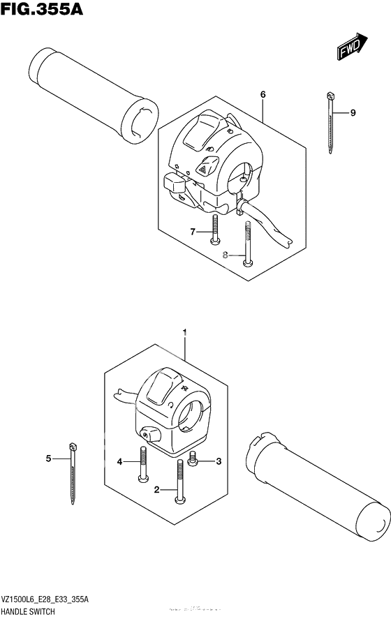
Пульт управления рулевой
Пульт управления рулевой
SWITCH ASSY,HANDLE,R (Ref #1)
1
Part #37200-06J00-000
Болт (Ref #2)
2
Part #02112-0545B-000
Болт (Ref #3)
3
Part #02112-0510B-000
Болт (Ref #4)
4
Part #02112-0535B-000
Clamp (l:145) (Ref #5)
5
Part #09407-14407-000
SWITCH ASSY,HANDLE,L (Ref #6)
6
Part #37400-06J00-000
Болт (Ref #7)
7
Part #02112-0530B-000
