Поворотники
Поворотники
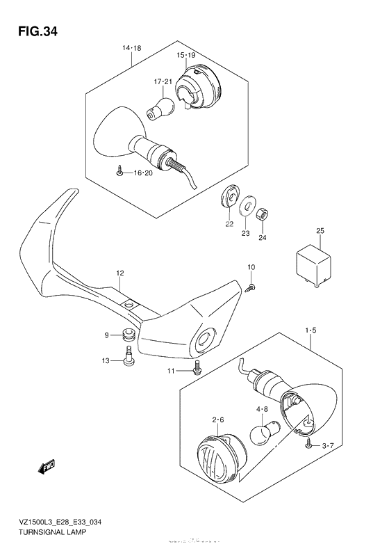
Поворотник передний, правый (Ref #1)
1
Part #35601-38AF0-000
Линза (Ref #2)
2
Part #35610-38AA0-000
SCREW(4X10) (Ref #3)
3
Part #35623-38AA0-000
BULB(12V21/5W,BF141-49642A) (Ref #4)
4
Part #09471-12128-000
Поворотник передний, левый (Ref #5)
5
Part #35602-38AF0-000
Линза (Ref #6)
6
Part #35630-38AA0-000
Cushion (Ref #9)
9
Part #09320-09016-000
Болт (Ref #10)
10
Part #03541-0510A-000
Bolt(6x12) (Ref #11)
11
Part #09103-06233-000
STAY,FR TURNSIGNAL (Ref #12)
12
Part #35641-40H00-000
Винт (Ref #13)
13
Part #09139-06146-000
Поворотник задний, правый (Ref #14)
14
Part #35603-38AG0-000
Линза (Ref #15)
15
Part #35630-38AE1-000
BULB(12V21W) (Ref #17)
17
Part #09471-12045-000
Поворотник задний, левый (Ref #18)
18
Part #35604-38AG0-000
Линза (Ref #19)
19
Part #35610-38AE1-000
SPACER,RR TURNSIGNAL (Ref #22)
22
Part #35695-17C00-000
WASHER(10.5X30X2.3) (Ref #23)
23
Part #09160-10501-000
Гайка (Ref #24)
24
Part #08310-0010A-000
RELAY ASSY,TURNSIGNAL LAMP (Ref #25)
25
Part #38610-03F01-000
-
2538610-03F00-000
RELAY ASSY,TURNSIGNAL LAMP
1Replaced by 38610-03F01-000 Доступно: Нет в наличии
