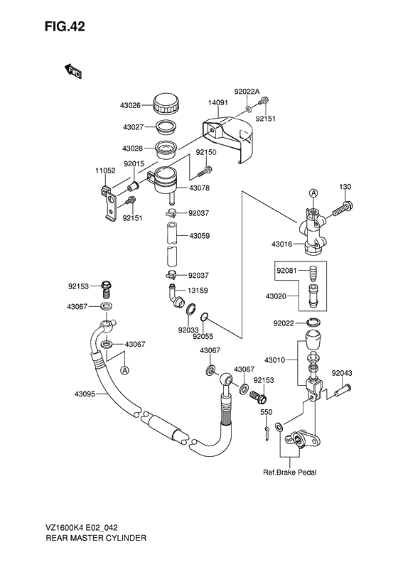
Rear master cylinder
Rear master cylinder
Болт ,8X30 (Ref #130)
130
Part #KK130-J0830-000
Шпонка,2.0X15 (Ref #550)
550
Part #K550A-A2015-000
-
550KK550-D2015-000
Шпонка,2.0X15
1Replaced by K550A-A2015-000 Доступно: Нет в наличии
-
14091K1409-11341-000
Крышка резервуара
1Replaced by K1409-10412-000 Доступно: Нет в наличии
-
43067KK430-67001-000
Шайба,10.5X15X1.5
4Replaced by K4909-10001-000 Доступно: Нет в наличии
-
92022K9202-21601-000
Шайба зажима
1Replaced by K9203-30079-000 Доступно: Нет в наличии
-
92055K9205-51251-000
Кольцо главного цилиндра
1Replaced by K9205-50741-000 Доступно: Нет в наличии
