Передняя вилка
Передняя вилка
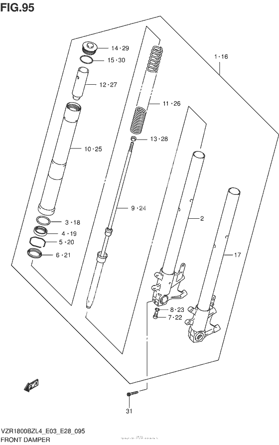
DAMPER ASSY,FR FORK,R (Ref #1)
1
Part #51103-48G30-000
TUBE,INNER,R (Ref #2)
2
Part #51110-48G30-000
Шайба (Ref #3)
3
Part #51158-27C00-000
Сальник (Ref #4)
4
Part #51153-48G00-000
Кольцо (Ref #5)
5
Part #51156-27C00-000
Уплотнение (Ref #6)
6
Part #51173-42F00-000
Болт (Ref #7)
7
Part #51147-05H00-000
GASKET (Ref #8)
8
Part #51148-41310-000
Цилиндр (Ref #9)
9
Part #51146-48G20-000
TUBE,OUTER (Ref #10)
10
Part #51130-48G30-000
SPRING,FR (Ref #11)
11
Part #51171-48G20-000
Прокладка (Ref #12)
12
Part #51176-21H00-000
Гайка (Ref #13)
13
Part #51352-13A60-000
Cap (Ref #14)
14
Part #51351-48G30-000
O ring (Ref #15)
15
Part #51117-48G00-000
DAMPER ASSY,FR FORK,L (Ref #16)
16
Part #51104-48G30-000
TUBE,INNER,L (Ref #17)
17
Part #51120-48G30-000
BOLT,HOLDER HANDLE UPR (Ref #31)
31
Part #51328-39G20-000
-
-
Цена: 1 590.00 р.
Доступно: 8
-
