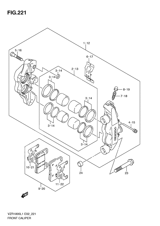
Front caliper

Front caliper

Front caliper
+ -
  • 1
    59100-41G10-999

    CALIPER ASSY,FR,R

    1
    Доступно: Нет в наличии
  • 2
    59100-35870-000

    Piston set

    1
    Доступно: Нет в наличии
  • 3
    59100-35820-000

    SEAL SET,PISTON

    1
    Доступно: Нет в наличии
  • 4
    59141-41G00-000

    Штифт

    2
    Replaced by 59141-41G10-000 Доступно: Нет в наличии
  • 4
    59141-41G10-000

    Pin

    2
    Доступно: Нет в наличии
  • 5
    59145-18G00-000

    Bolt

    3
    Доступно: Нет в наличии
  • 6
    59151-29G00-000

    Пружина

    1
    Доступно: 4
  • 7
    59121-18410-000

    BLEEDER

    1
    Доступно: Нет в наличии
  • 8
    55156-66310-000

    CAP,BLEEDER PLUG

    1
    Доступно: Нет в наличии
  • 9
    59100-29850-000

    Тормозные колодки

    1
    Доступно: Нет в наличии
  • 10
    59171-41G00-000

    SHIM,PAD A

    1
    Доступно: Нет в наличии
  • 11
    59172-41G00-000

    SHIM,PAD B

    1
    Доступно: Нет в наличии
  • 12
    59300-41G10-999

    CALIPER ASSY,FR,L

    1
    Доступно: Нет в наличии
  • 23
    09103-10392-000

    BOLT(10X70)

    4
    Доступно: Нет в наличии
  • 24
    59151-41G00-000

    PIN,CALIPER

    4
    Доступно: Нет в наличии