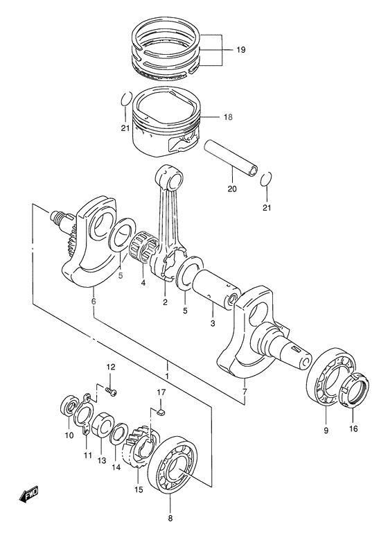
Crankshaft
Crankshaft
Коленчатый вал (Ref #1)
1
Part #12000-04820-000
Шатун (Ref #2)
2
Part #12161-04F00-000
Палец шатунный (Ref #3)
3
Part #12211-32E00-000
Bearing (37x47x25) (Ref #4)
4
Part #09263-37007-000
Шайба (Ref #5)
5
Part #09160-37006-000
Шайба (Ref #5)
5
Part #09160-37006-000
Шайба (Ref #5)
5
Part #09160-37006-000
Шайба (Ref #5)
5
Part #09160-37006-000
CRANKSHAFT SET,R (Ref #6)
6
Part #12221-32810-000
CRANKSHAFT,L (Ref #7)
7
Part #12261-32E00-000
Подшипник (Ref #8)
8
Part #09262-40008-000
Подшипник (Ref #9)
9
Part #09262-45011-000
SEAL,OIL(16X30X6) (Ref #10)
10
Part #09282-16002-000
RETAINER,CRANKSHAFT BEARING,R (Ref #11)
11
Part #12548-37400-000
Болт (Ref #12)
12
Part #02112-0508A-000
Гайка (Ref #13)
13
Part #09140-20013-000
Пластина замка (Ref #14)
14
Part #09164-20003-000
GEAR,PRIMARY DRIVE(NT:28) (Ref #15)
15
Part #21111-32E00-000
Гайка (Ref #16)
16
Part #12664-04F00-000
Ключ (Ref #17)
17
Part #09420-05007-000
Piston (Ref #18)
18
Part #12111-04F00-0F0
Кольца поршневые (Ref #19)
19
Part #12140-32E10-000
Палец поршня (Ref #20)
20
Part #12151-14A01-000
КЛИПС (Ref #21)
21
Part #09381-23003-000
КЛИПС (Ref #21)
21
Part #09381-23003-000
КЛИПС (Ref #21)
21
Part #09381-23003-000
КЛИПС (Ref #21)
21
Part #09381-23003-000
-
409263-37006-000
Bearing (37x47x25)
1Replaced by 09263-37007-000 Доступно: Нет в наличии
