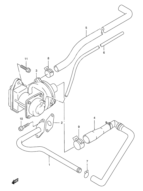
2nd air E18
2nd air E18
Pipe, 2nd air (Ref #1)
1
Part #18410-32E00-000
Прокладка (Ref #2)
2
Part #18441-45C01-000
VALVE ASSY,2ND AIR REED (Ref #3)
3
Part #18450-14D00-000
Hose assy, 2nd air (Ref #4)
4
Part #18460-04F00-000
HOSE,2ND AIR INLET (Ref #5)
5
Part #18711-02F00-000
Шланг 4X7X600 (Ref #6)
6
Part #09359-40701-600
Clip (Ref #7)
7
Part #09401-13417-000
Clip (Ref #8)
8
Part #09401-15404-000
ХОМУТ МАЛЫЙ (Ref #9)
9
Part #09401-22405-000
Bolt (Ref #10)
10
Part #07120-0616B-000
Bolt (Ref #11)
11
Part #07120-0620B-000
