Cylinder
Cylinder
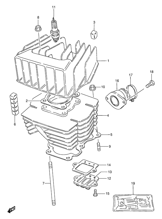
Головка цилиндров (Ref #1)
1
Part #11111-23402-000
Прокладка головки цилиндров (Ref #2)
2
Part #11141-23450-000
PAD,CYLINDER HEAD (Ref #3)
3
Part #11151-40900-000
Цилиндр (Ref #4)
4
Part #11210-23450-0F0
Прокладка цилиндра (Ref #5)
5
Part #11241-23411-000
PAD,CYLINDER (Ref #6)
6
Part #11251-36500-000
BOLT,STUD (Ref #7)
7
Part #09108-08056-000
Гайка (Ref #8)
8
Part #08316-1008B-000
Болт 6 X 20 (Ref #9)
9
Part #01421-0620A-000
Гайка (Ref #10)
10
Part #08316-1006B-000
PLUG,SPARK(W24EPR) (Ref #11)
11
Part #09482-00240-111
PLUG,SPARK(BPR8ES) (Ref #11)
11
Part #09482-00239-000
PLUG,SPARK(W24ES) (Ref #11)
11
Part #09482-00092-000
PLUG,SPARK(B8ES) (Ref #11)
11
Part #09482-00091-000
Клапан (Ref #12)
12
Part #13150-23400-000
Болт (Ref #13)
13
Part #02112-0308A-000
Прокладка (Ref #14)
14
Part #13156-23411-000
Винт 6X12 (Ref #15)
15
Part #02112-0612A-000
Труба впускная (Ref #16)
16
Part #13110-23401-000
Clamp (Ref #17)
17
Part #09402-36208-000
Болт (Ref #18)
18
Part #02112-3616B-000
Gasket set (Ref #19)
19
Part #11400-23860-000
