Front E71, e94, p36, p94
Front E71, e94, p36, p94
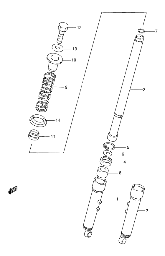
TUBE,OUTER,R (Ref #1)
1
Part #51130-23451-000
TUBE,OUTER,L (Ref #2)
2
Part #51140-23451-000
TUBE,FORK INNER (Ref #3)
3
Part #51110-23451-000
Seal,oil (Ref #4)
4
Part #51153-39140-000
RING,SNAP (Ref #5)
5
Part #51156-39140-000
Шайба (Ref #6)
6
Part #51158-23720-000
O ring (Ref #7)
7
Part #51181-22011-000
Металическая вставка (Ref #8)
8
Part #51152-23490-000
Пружина (Ref #9)
9
Part #51171-234C0-000
Направляющая (Ref #10)
10
Part #51172-23721-000
Направляющая пружины (Ref #11)
11
Part #51178-23720-000
BOLT,FR FORK(10X33) (Ref #12)
12
Part #51351-29400-000
WASHER,STEERING STEM HEAD (Ref #13)
13
Part #51356-07010-000
Guide, spring lower (Ref #14)
14
Part #51179-234C0-000
