Front
Front
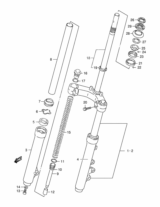
DAMPER ASSY,FR FORK,R (Ref #1)
1
Part #51103-20E00-019
DAMPER ASSY,FR FORK,L (Ref #2)
2
Part #51104-20E00-019
TUBE,OUTER,R(BLACK) (Ref #3)
3
Part #51130-20E00-019
TUBE,OUTER,L(BLACK) (Ref #4)
4
Part #51140-20E00-019
Сальник (Ref #5)
5
Part #51153-36A00-000
RING,SNAP (Ref #6)
6
Part #51156-39260-000
Dust seal (Ref #7)
7
Part #51173-16F00-000
TUBE,INNER (Ref #8)
8
Part #51110-20E00-000
Цилиндр (Ref #9)
9
Part #51146-20E00-000
SPRING,REBOUND (Ref #10)
10
Part #51177-36A00-000
Кольцо поршневое (Ref #11)
11
Part #51196-36A00-000
PIECE,OIL LOCK (Ref #12)
12
Part #51195-20E00-000
BOLT,FORK CYLINDER(10X25) (Ref #13)
13
Part #51147-16510-000
GASKET (Ref #14)
14
Part #51148-41310-000
SPRING,MAIN (Ref #15)
15
Part #51171-20E00-000
CAP,FORK (Ref #16)
16
Part #51351-39221-000
O RING(D:2.4,ID:21.8) (Ref #17)
17
Part #09280-22001-000
STEM,STEERING (Ref #18)
18
Part #51410-20E10-019
STEM,STEERING(BLACK) (Ref #18)
18
Part #51410-20E00-019
RACE,STEERING OUTER LWR (Ref #19)
19
Part #51622-20E00-000
Bolt (Ref #20)
20
Part #01570-0835A-000
RACE,STEERING INNER LWR (Ref #21)
21
Part #51612-04000-000
Шарик стальной (Ref #22)
22
Part #06111-06003-000
RACE,STEERING INNER UPR (Ref #23)
23
Part #51611-20002-000
RACE,STEERING OUTER UPR (Ref #25)
25
Part #51621-28000-000
NUT,STEERING STEM LOCK (Ref #26)
26
Part #51632-02400-000
WASHER (Ref #27)
27
Part #09166-26001-000
DUST SEAL,STEERING UPR (Ref #28)
28
Part #51643-25001-000
NUT,STEERING STEM(25X44X10) (Ref #29)
29
Part #51631-28000-000
-
-
Цена: 190.00 р.
Доступно: 3
-
