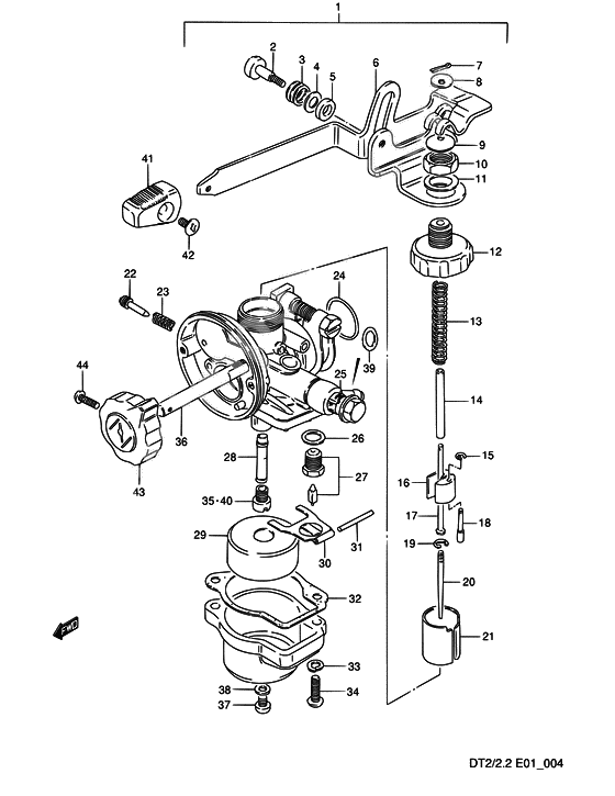
Carburetor assy (DT2,MODEL:86~89); NOTE : REFER TO FIG.5 (B- 7) FOR DT2,MODEL:90~00
Carburetor assy (DT2,MODEL:86~89); NOTE : REFER TO FIG.5 (B- 7) FOR DT2,MODEL:90~00
Карбюратор (Ref #1)
1
Part #13200-984F1-000
Болт (Ref #2)
2
Part #13433-98410-000
Пружина (Ref #3)
3
Part #13426-98410-000
Шайба (Ref #4)
4
Part #13615-98412-000
Кольцо (Ref #5)
5
Part #13432-33110-000
Throttle lever (Ref #6)
6
Part #13564-98411-000
Стопор (Ref #7)
7
Part #04111-1210A-000
Plate (Ref #8)
8
Part #13557-98410-000
Plate (Ref #9)
9
Part #13557-98430-000
Гайка (Ref #10)
10
Part #13567-98412-000
Шайба (Ref #11)
11
Part #13589-98411-000
Главный карбюратор (Ref #12)
12
Part #13265-98411-000
Пружина клапана (Ref #13)
13
Part #13573-98411-000
Pipe (Ref #14)
14
Part #13552-98411-000
E ring (Ref #15)
15
Part #13533-98410-000
Пружина (Ref #16)
16
Part #13545-98410-000
Штанга дросселя (Ref #17)
17
Part #13552-98410-000
Штифт (Ref #18)
18
Part #13563-98410-000
E ring (Ref #19)
19
Part #13394-40D00-000
Жиклер игольчатый (Ref #20)
20
Part #13383-98410-000
Клапан дросселя (CA:1.5) (Ref #21)
21
Part #13551-98411-000
Винт стопорный (Ref #22)
22
Part #13267-01010-000
Прушина стопорная (Ref #23)
23
Part #13268-01010-000
Кольцо уплотнительное (Ref #24)
24
Part #09280-15002-000
Фильтр карбюратора (Ref #25)
25
Part #13376-98400-000
Прокладка (Ref #26)
26
Part #13392-01010-000
Клапан (Ref #27)
27
Part #13370-23010-000
Распылитель (Ref #28)
28
Part #09494-00179-000
Поплавок (Ref #29)
29
Part #13270-94350-000
Рычаг плавающий (Ref #30)
30
Part #13253-98410-000
Поплавок (Ref #31)
31
Part #13254-98410-000
Прокладка камеры (Ref #32)
32
Part #13251-98421-000
Пластина замка (Ref #33)
33
Part #08321-0104A-000
Болт (Ref #34)
34
Part #02112-0416A-000
Жиклер главный (95) (Ref #35)
35
Part #09491-95004-000
Shaft, choke (Ref #36)
36
Part #13586-98410-000
Болт (Ref #37)
37
Part #09125-05122-000
Прокладка (Ref #38)
38
Part #13523-46110-000
Шайба (Ref #39)
39
Part #13292-98410-000
Jet, main (#100) (Ref #40)
40
Part #09491-20013-000
Жиклер главный (#85) (Ref #40)
40
Part #09491-85005-000
Жиклер главный (#90) (Ref #40)
40
Part #09491-90006-000
Рукоятка дросселя (Ref #41)
41
Part #88851-64001-000
Болт (Ref #42)
42
Part #02122-03067-000
Knob, choke (Ref #43)
43
Part #13631-98410-000
Болт (Ref #44)
44
Part #02112-03107-000
-
2413295-98410-000
Кольцо уплотнительное
1Replaced by 09280-15002-000 Доступно: Нет в наличии
-
-
Цена: 220.00 р.
Доступно: 3
-
-
3213251-98420-000
Прокладка камеры
1Replaced by 13251-98421-000 Доступно: Нет в наличии
-
3308321-01043-000
Пластина замка
2Replaced by 08321-0104A-000 Доступно: Нет в наличии
