Crankshaft
Crankshaft
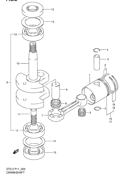
Piston (43mm) (Ref #1)
1
Part #12110-94D01-0B0
Кольца поршневые (Ref #2)
2
Part #12140-36232-000
Палец поршня (Ref #3)
3
Part #12151-04700-000
Палец поршня (Ref #4)
4
Part #09381-12001-000
Палец поршня (Ref #4)
4
Part #09381-12001-000
Палец поршня (Ref #4)
4
Part #09381-12001-000
Палец поршня (Ref #4)
4
Part #09381-12001-000
Подшипник поршня (Ref #5)
5
Part #09263-12023-000
Вал коленчатый (Ref #6)
6
Part #12200-98404-000
Шатун (Ref #7)
7
Part #12161-98400-000
Bearing (Ref #8)
8
Part #09263-15014-000
Палец шатунный (Ref #9)
9
Part #12211-04000-000
Щека, верхняя (Ref #10)
10
Part #12221-98402-000
Щека нижняя (Ref #11)
11
Part #12231-98403-000
Подшипник нижней части коленвала (Ref #12)
12
Part #09262-17023-000
Подшипник нижней части коленвала (Ref #12)
12
Part #09262-17023-000
Подшипник нижней части коленвала (Ref #12)
12
Part #09262-17023-000
Подшипник нижней части коленвала (Ref #12)
12
Part #09262-17023-000
Сальник (Ref #13)
13
Part #09283-17002-000
Сальник (Ref #13)
13
Part #09283-17002-000
Сальник (Ref #13)
13
Part #09283-17002-000
Сальник (Ref #13)
13
Part #09283-17002-000
Цилиндры / Картер (Ref #14)
14
Part #08211-32441-000
Цилиндры / Картер (Ref #14)
14
Part #08211-32441-000
Цилиндры / Картер (Ref #14)
14
Part #08211-32441-000
Цилиндры / Картер (Ref #14)
14
Part #08211-32441-000
Piston set (os:0.25) (Ref #15)
15
Part #12100-94D01-025
Кольца поршневые (Ref #16)
16
Part #12140-98501-025
Piston set (os:0.50) (Ref #17)
17
Part #12100-94D01-050
Кольца поршневые (Ref #18)
18
Part #12140-36232-050
-
-
Цена: 1 250.00 р.
Доступно: 1
-
