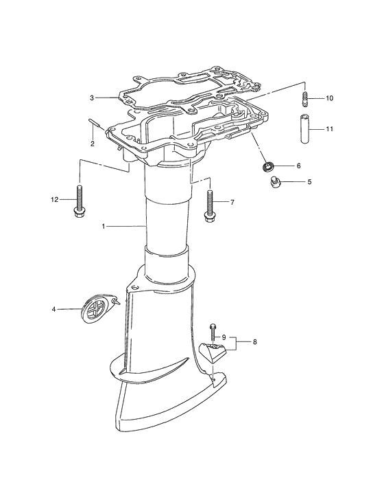
Drive shaft housing
Drive shaft housing
Дейдвуд (L) (Ref #1)
1
Part #52110-98660-0ED
Дейдвуд (S) (Ref #1)
1
Part #52110-98670-0ED
Pin (Ref #2)
2
Part #09205-10006-000
Прокладка вала (Ref #3)
3
Part #52113-98610-000
Крышка муфты (Ref #4)
4
Part #52115-98600-000
Редуктор (L) (Ref #5)
5
Part #09248-10008-000
Редуктор (L) (Ref #6)
6
Part #09168-10022-000
Bolt (8x40) (Ref #7)
7
Part #09118-08116-000
Протектор цинковый (Ref #8)
8
Part #55320-98600-000
Bolt (Ref #9)
9
Part #09116-06204-000
Трубка водная (Ref #10)
10
Part #61155-94500-000
Шланг 5X9X600 (Ref #11)
11
Part #09352-50903-600
Bolt (8x55) (Ref #12)
12
Part #09118-08125-000
