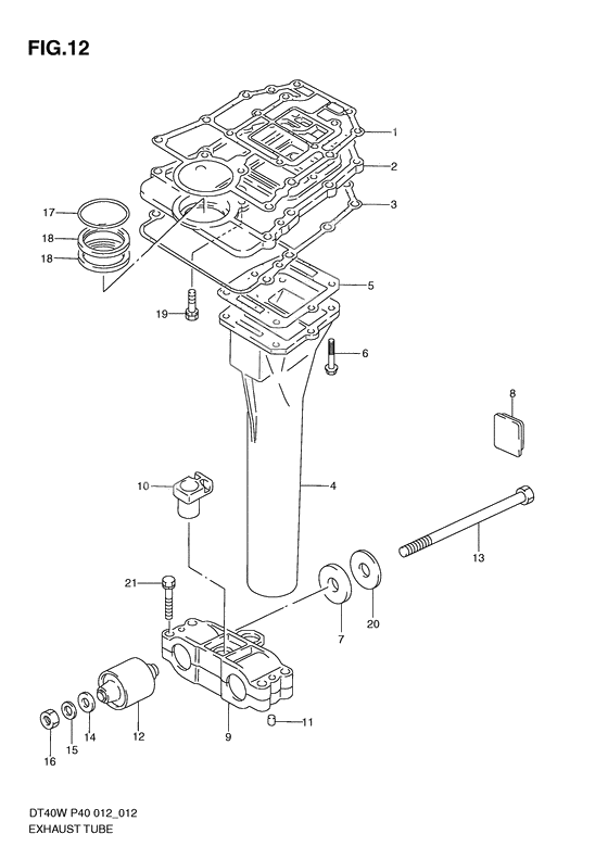
Exhaust tube
Exhaust tube
Прокладка (Ref #1)
1
Part #11433-94412-000
Housing,under oil seal (Ref #2)
2
Part #11431-92L00-000
Прокладка сальника (Ref #3)
3
Part #11434-94411-000
Tube,exhaust(transom s,sl) (Ref #4)
4
Part #14211-94451-000
Tube,exhaust(transom l) (Ref #4)
4
Part #14211-92L20-000
Прокладка трубы выхода (Ref #5)
5
Part #14212-94413-000
Bolt (Ref #6)
6
Part #29103-94400-000
Стопор оси (Ref #7)
7
Part #54121-94401-000
Опора верхняя (Ref #8)
8
Part #54125-94400-000
Case,upper mount (Ref #9)
9
Part #54137-92L00-000
Направляющая верхней опоры (Ref #10)
10
Part #54146-94400-000
Pin (Ref #11)
11
Part #09202-07001-000
Опора верхняя (Ref #12)
12
Part #54130-94411-000
Bolt (10x150) (Ref #13)
13
Part #09100-10217-000
Шайба (Ref #14)
14
Part #09160-10148-000
Кронштейн шарнирный (Ref #15)
15
Part #09160-10082-000
Гайка (Ref #16)
16
Part #09159-10050-000
Кольцо корпуса вала (Ref #17)
17
Part #09280-50008-000
Уплотнение 17X28X6 (Ref #18)
18
Part #09282-17009-000
Уплотнение 17X28X6 (Ref #18)
18
Part #09282-17009-000
Уплотнение 17X28X6 (Ref #18)
18
Part #09282-17009-000
Уплотнение 17X28X6 (Ref #18)
18
Part #09282-17009-000
Bolt,under oil seal housing (Ref #19)
19
Part #29116-94400-000
Шайба (Ref #20)
20
Part #09160-10080-000
Bolt (8x45) (Ref #21)
21
Part #29117-93J10-000
-
414211-92L00-000
Tube,exhaust(transom l)
1Replaced by 14211-92L20-000 Доступно: Нет в наличии
-
414211-92L10-000
Tube,exhaust(transom s,sl)
1Replaced by 14211-94451-000 Доступно: Нет в наличии
