Сиденье
Сиденье
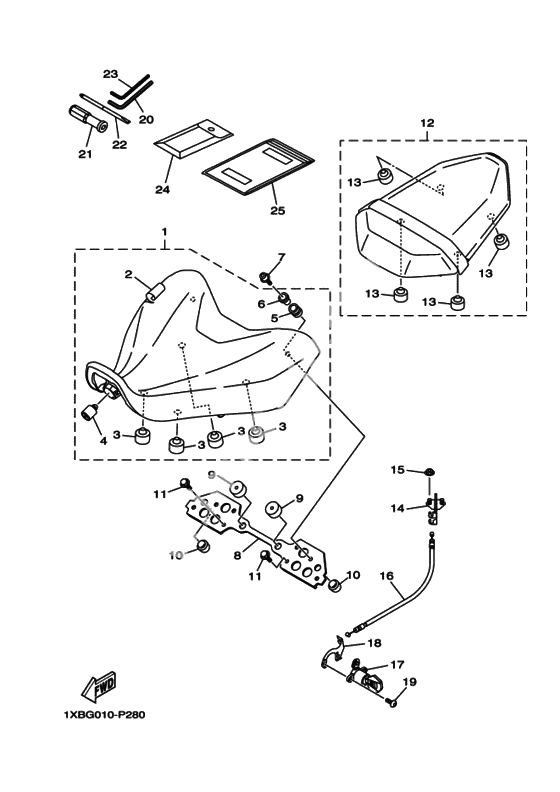
Сиденье (Ref #1)
1
Part #1WS-24710-00-00
Чехол сиденья (Ref #2)
2
Part #1WS-2470F-00-00
Упор (Ref #4)
4
Part #1D7-27114-00-00
Втулка демпфирующая (Ref #5)
5
Part #90480-14604-00
COLLAR (Ref #6)
6
Part #90387-07391-00
Болт (Ref #7)
7
Part #90110-06172-00
Крепление (Ref #8)
8
Part #1WS-21131-00-00
Упор (Ref #9)
9
Part #5RU-27114-00-00
Упор (Ref #9)
9
Part #5RU-27114-00-00
Упор (Ref #9)
9
Part #5RU-27114-00-00
Упор (Ref #9)
9
Part #5RU-27114-00-00
Упор (Ref #10)
10
Part #157-27114-00-00
Упор (Ref #10)
10
Part #157-27114-00-00
Упор (Ref #10)
10
Part #157-27114-00-00
Упор (Ref #10)
10
Part #157-27114-00-00
Болт (Ref #11)
11
Part #95D32-06010-00
Болт (Ref #11)
11
Part #95D32-06010-00
Болт (Ref #11)
11
Part #95D32-06010-00
Болт (Ref #11)
11
Part #95D32-06010-00
Сиденье заднее (Ref #12)
12
Part #1WS-24750-00-00
Защелка фиксатора сиденья (Ref #14)
14
Part #1WS-24780-00-00
Nut, flange (Ref #15)
15
Part #95780-06500-00
Тросик замка сиденья (Ref #16)
16
Part #1WS-2478E-00-00
Защелка сиденья (Ref #17)
17
Part #3CK-W2470-00-00
Крепление (Ref #18)
18
Part #23P-2117K-00-00
BOLT (Ref #19)
19
Part #901-49060-30-00
Ключ (Ref #20)
20
Part #14B-28164-00-00
Ручка отвёртки (Ref #21)
21
Part #2H7-28151-00-00
Отвёртка (Ref #22)
22
Part #137-28152-00-00
Ключ (Ref #23)
23
Part #23P-28164-00-00
Инструменты, комплект (Ref #24)
24
Part #1WS-28100-00-00
Крышка (Ref #25)
25
Part #4KG-28186-10-00
-
172TV-W2470-00-00
Защелка сиденья
1Replaced by 3CK-W2470-00-00 Доступно: Нет в наличии
