Распредвал & Цепь ГРМ
Распредвал & Цепь ГРМ
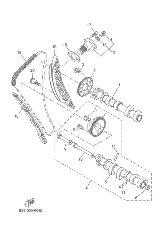
Вал распределительный 1 (Ref #1)
1
Part #1WS-12170-00-00
Звёздочка цепи (Ref #2)
2
Part #2C0-12176-00-00
Болт (Ref #3)
3
Part #90105-07006-00
Вал распределительный 2 (в сборе) (Ref #4)
4
Part #1WS-12180-00-00
Вал распределительный 2 (Ref #5)
5
Part #1WS-12181-00-00
Заглушка (Ref #6)
6
Part #903-31160-01-00
Декомпрессор (Ref #7)
7
Part #1WS-12280-00-00
Вал (Ref #9)
9
Part #1WS-12247-00-00
Вал 2 (Ref #10)
10
Part #1WS-12257-00-00
Штифт (Ref #11)
11
Part #1PD-12288-00-00
Штифт (Ref #11)
11
Part #1PD-12288-00-00
Штифт (Ref #11)
11
Part #1PD-12288-00-00
Штифт (Ref #11)
11
Part #1PD-12288-00-00
Цепь (T098XRH2015-134P) (Ref #12)
12
Part #945-91611-34-00
Натяжитель цепи (Ref #13)
13
Part #1WS-12210-02-00
BOLT (Ref #14)
14
Part #5EL-12228-00-00
Прокладка (Ref #15)
15
Part #5SL-12214-00-00
Прокладка натяжителя цепи (Ref #16)
16
Part #1WS-12213-00-00
Болт (Ref #17)
17
Part #901-10063-96-00
Планка поддержки цепи (успокоитель) (Ref #18)
18
Part #1WS-12251-00-00
Планка натяжителя цепи (Ref #19)
19
Part #1WS-12252-00-00
Болт (Ref #20)
20
Part #90109-06297-00
-
-
Цена: 6 620.00 р.
Доступно: 1
-
-
-
Цена: 20 050.00 р.
Доступно: 1
-
