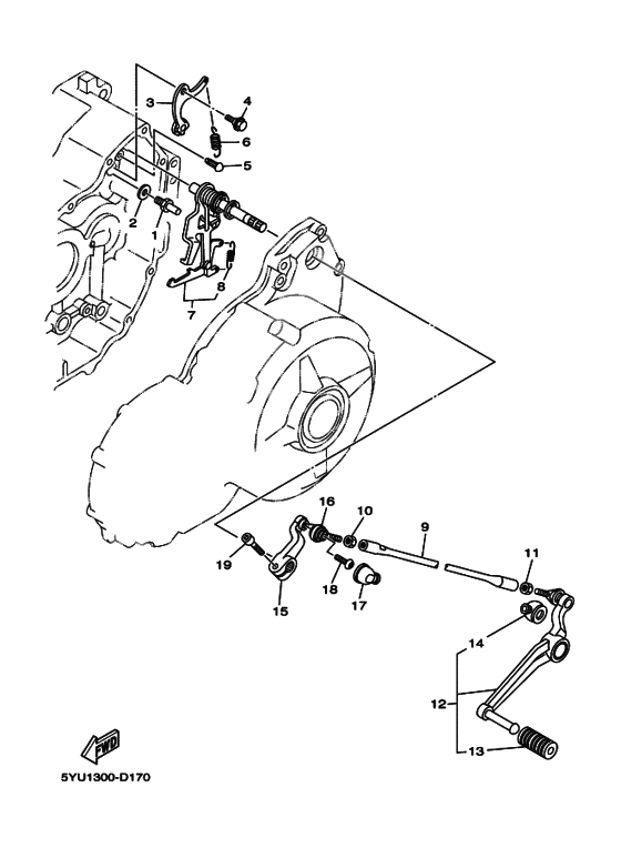
Shaft shift
Shaft shift
BOLT (Ref #1)
1
Part #90109-08441-00
Washer, Plate (Ref #2)
2
Part #90201-08085-00
Уровень стопора (Ref #3)
3
Part #26H-18140-02-00
BOLT (Ref #4)
4
Part #90109-06036-00
Винт (Ref #5)
5
Part #132-16346-00-00
Пружина натяжения (Ref #6)
6
Part #90506-18007-00
. SHAFT (Ref #7)
7
Part #4WM-18101-01-00
Пружина натяжения (Ref #8)
8
Part #90506-08227-00
Штанга передачи (Ref #9)
9
Part #5YU-18115-00-00
Nut (Counter Clockwise) (Ref #10)
10
Part #90170-06228-00
Nut, flange (Ref #10)
10
Part #9538R-06700-00
Педаль КПП (Ref #12)
12
Part #5YU-18110-00-00
Крышка педали (Ref #13)
13
Part #5EB-18113-00-00
Крышка (Ref #14)
14
Part #4XV-18154-00-00
Arm, Shift (Ref #15)
15
Part #5YU-18112-00-00
Наконечник тяги (Ref #16)
16
Part #5LV-18116-00-00
Болт (Ref #18)
18
Part #92017-06020-00
Болт диагональный (Ref #19)
19
Part #91314-06020-00
