Carburetor
Carburetor
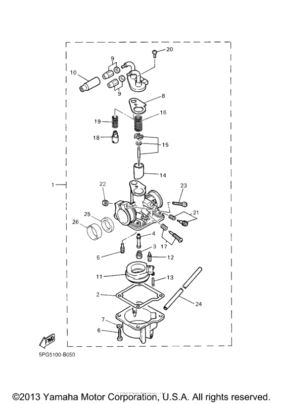
CARBURETOR ASSY (Ref #1)
1
Part #5PG-14101-00-00
Прокладка поплавковой камеры (Ref #2)
2
Part #3L5-14184-00-00
Жиклёр главный (#70) (Ref #3)
3
Part #620-14231-14-00
Распылитель (Ref #4)
4
Part #3L7-14141-12-00
Жиклёр (#40) (Ref #5)
5
Part #3L5-14142-40-00
Screw, Pan Head (Ref #6)
6
Part #98507-04014-00
Шайба, стопорная (Ref #7)
7
Part #92907-04100-00
Прокладка (Ref #8)
8
Part #3L5-14198-00-00
Гайка регулировки положения заслонки (Ref #9)
9
Part #17L-14106-00-00
Гайка регулировки положения заслонки (Ref #9)
9
Part #17L-14106-00-00
Гайка регулировки положения заслонки (Ref #9)
9
Part #17L-14106-00-00
Гайка регулировки положения заслонки (Ref #9)
9
Part #17L-14106-00-00
Колпачок гайки (Ref #10)
10
Part #1R0-14169-00-00
Поплавок (Ref #11)
11
Part #3L6-14185-01-00
Игла запорного клапана (Ref #12)
12
Part #3L5-14190-01-00
Ось поплавка (Ref #13)
13
Part #603-14186-00-00
Заслонка (Ref #14)
14
Part #3L5-14112-40-00
Needle set (Ref #15)
15
Part #36R-1490J-00-00
Пружина (Ref #16)
16
Part #174-14131-01-00
Винт регулировочный (Ref #17)
17
Part #36R-14103-00-00
Пружина (Ref #18)
18
Part #127-14135-00-00
Плунжер обогатителя (Ref #18)
18
Part #3XV-14171-00-00
Винт (Ref #20)
20
Part #976-07051-12-00
Винт регулировочный (Ref #21)
21
Part #36R-14104-00-00
Гайка (Ref #22)
22
Part #98807-05100-00
Screw, Pan Head (Ref #23)
23
Part #98517-05030-00
Pipe, Over Flow 1 (Ref #24)
24
Part #904-4505M-07-00
Hose (L200) (Ref #24)
24
Part #904-4505N-13-00
Кольцо уплотнительное (Ref #25)
25
Part #1M3-14997-00-00
Кольцо изоляционное (Ref #26)
26
Part #1V3-14271-00-00
-
1858E-14171-00-00
Плунжер обогатителя
0Replaced by 127-14135-00-00 Доступно: Нет в наличии
-
18127-14171-00-00
Плунжер обогатителя
1Replaced by 3XV-14171-00-00 Доступно: Нет в наличии
-
2398507-05030-00
Screw, Pan Head
1Replaced by 98517-05030-00 Доступно: Нет в наличии
-
-
Цена: 140.00 р.
Доступно: 1
-
