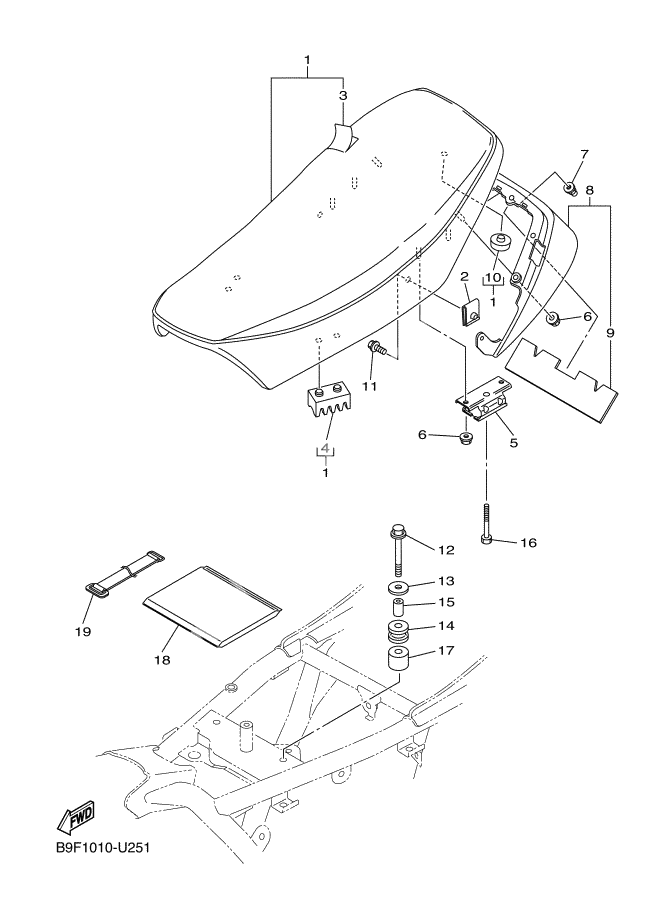
SEAT
SEAT
Nut, Spring (Ref #2)
2
Part #90183-05024
. COVER, SEAT (Ref #3)
3
Part #B9F-24731-20
. DAMPER, seat (Ref #4)
4
Part #2J2-24723-00
Damper, Seat (Ref #5)
5
Part #2J2-24724-01
Nut, Self-Locking (Ref #6)
6
Part #95602-06200
Nut, Self-Locking (Ref #6)
6
Part #95602-06200
Nut, Self-Locking (Ref #6)
6
Part #95602-06200
Nut, Self-Locking (Ref #6)
6
Part #95602-06200
Nut, Crown (Ref #7)
7
Part #90176-05003
TAIL COVER ASSY (Ref #8)
8
Part #B9F-2477B-20-P0
. DAMPER, seat (Ref #9)
9
Part #B9F-24747-00
. PAD, SEAT (Ref #10)
10
Part #22W-24741-00
Bolt, With Washer (Ref #11)
11
Part #90119-05016
Bolt, Flange (Ref #12)
12
Part #95812-06055
Washer, Plate (Ref #13)
13
Part #90201-06074
Damper, Seat (Ref #14)
14
Part #2J2-24737-00
Collar (Ref #15)
15
Part #90387-06554
Bolt (Ref #16)
16
Part #90101-08439
Spacer 1 (Ref #17)
17
Part #3HT-24725-00
Pouch (Ref #18)
18
Part #B9F-28186-00
Band (Ref #19)
19
Part #B9F-2811G-00
-
-
Цена: 700.00 р.
Доступно: 0
-
