Передний тормозной цилиндр
Передний тормозной цилиндр
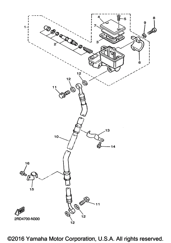
MASTER CYLINDER ASSY (Ref #1)
1
Part #3HT-2583T-00-00
Комплект главного цилиндра (Ref #2)
2
Part #4H7-W0041-00-00
Diaphragm, Reservoir (Ref #3)
3
Part #4HM-25854-00-00
Крышка (Ref #4)
4
Part #4HM-25852-01-00
Screw, Pan Head (Ref #5)
5
Part #98707-04012-00
Кронштейн (Ref #6)
6
Part #4L0-25867-00-00
Пластина (Ref #7)
7
Part #3GM-2585B-10-00
Bolt, Hexagon (Ref #8)
8
Part #970-17060-25-00
Washer, Plate (Ref #9)
9
Part #92907-06600-00
Hose, Brake 1 (Ref #10)
10
Part #3HT-25872-11-00
Болт-штуцер (Ref #11)
11
Part #90401-10020-00
Болт-штуцер (Ref #11)
11
Part #90401-10020-00
Болт-штуцер (Ref #11)
11
Part #90401-10020-00
Болт-штуцер (Ref #11)
11
Part #90401-10020-00
Holder, Brake Hose (Ref #13)
13
Part #3HT-25886-00-00
BOLT (Ref #14)
14
Part #95027-06010-00
Holder, Wire 2 (Ref #15)
15
Part #5JX-21598-00-00
-
34K0-25854-00-00
Diaphragm, Reservoir
1Replaced by 4HM-25854-00-00 Доступно: Нет в наличии
