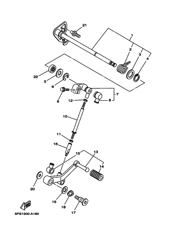
Shaft shift
Shaft shift
. SHAFT (Ref #1)
1
Part #5PS-18101-01-00
Spring, Torsion (Ref #2)
2
Part #905-08321-42-00
Washer, Plate (Ref #3)
3
Part #90201-191J4-00
Circlip (Ref #4)
4
Part #99009-19400-00
Шайба (Ref #5)
5
Part #90201-12575-00
Circlip (Ref #6)
6
Part #99006-10600-00
. SHAFT (Ref #7)
7
Part #5PS-18130-00-00
Пыльник (Ref #8)
8
Part #2H9-18154-00-00
BOLT (Ref #9)
9
Part #95817-06020-00
Штанга передачи (Ref #10)
10
Part #2H9-18115-00-00
Nut (Counter Clockwise) (Ref #11)
11
Part #90170-06228-00
Педаль КПП (Ref #12)
12
Part #5PS-18110-00-00
Nut, flange (Ref #12)
12
Part #9538R-06700-00
Крышка педали (Ref #14)
14
Part #5EB-18113-00-00
Соединение тяги 1 (Ref #16)
16
Part #5PS-18116-10-00
Болт (Ref #17)
17
Part #5JW-27434-10-00
Шайба волнистая (Ref #18)
18
Part #90206-12074-00
Washer, Plate (Ref #19)
19
Part #90201-12013-00
Шайба (Ref #20)
20
Part #90201-080H1-00
Болт-фиксатор (Ref #21)
21
Part #5VK-18127-00-00
Oil seal (Ref #22)
22
Part #931-02123-21-00
-
290508-32682-00
Spring, Pilot Adjusting
1Replaced by 905-08321-42-00 Доступно: Нет в наличии
-
165PS-18116-00-00
Соединение тяги 1
1Replaced by 5PS-18116-10-00 Доступно: Нет в наличии
-
211D7-18127-00-00
Болт-фиксатор
1Replaced by 5VK-18127-00-00 Доступно: Нет в наличии
-
2293101-12004-00
Oil Seal (Sd 12-22-5 Hs)
1Replaced by 931-02123-21-00 Доступно: Нет в наличии
