Задний фонарь (Стоп-сигнал)
Задний фонарь (Стоп-сигнал)
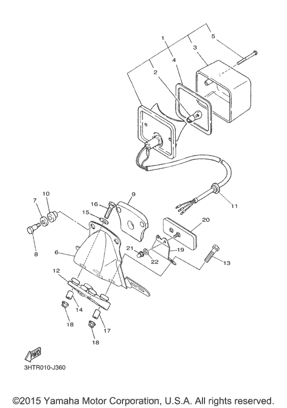
Taillight Unit Assy (Ref #1)
1
Part #2RD-84710-10-00
Lens, tail lamp (Ref #2)
2
Part #1M1-84521-60-00
Bulb (12V-27/8W) (Ref #2)
2
Part #137-84714-61-XX
Washer, Needle Valve (Ref #4)
4
Part #3TJ-14457-00-00
Screw, Lens Fitting (Ref #5)
5
Part #5BF-8433E-00-00
Screw, Pan Head (Ref #5)
5
Part #90157-04111-00
Bracket, License (Ref #6)
6
Part #3HT-84751-20-00
Шайба специальная (Ref #7)
7
Part #2H7-84754-00-00
Винт (Ref #8)
8
Part #3HT-84526-00-00
Seat, Base (Ref #9)
9
Part #1M1-84512-60-00
Амортизатор (Ref #10)
10
Part #1M1-84527-60-00
Втулка (Ref #11)
11
Part #90480-12013-00
Виброгаситель (Ref #12)
12
Part #2J2-84753-00-00
BOLT (Ref #13)
13
Part #97017-06030-00
COLLAR (Ref #14)
14
Part #90387-07020-00
Washer, Plate (Ref #15)
15
Part #90201-06380-00
Bolt, Hexagon (Ref #16)
16
Part #970-17060-25-00
Втулка (Ref #17)
17
Part #90387-0714A-00
Nut, flange (Ref #18)
18
Part #95707-06500-00
Nut, flange (Ref #18)
18
Part #95707-06500-00
Nut, flange (Ref #18)
18
Part #95707-06500-00
Nut, flange (Ref #18)
18
Part #95707-06500-00
Кронштейн рефлектора задний (Ref #19)
19
Part #3HT-21641-00-00
REFLECTOR (Ref #20)
20
Part #3Y6-85130-02-00
Гайка корончатая (Ref #21)
21
Part #90176-05003-00
Шайба (Ref #22)
22
Part #90201-05039-00
-
2137-84714-61-00
Bulb (12V-27/8W)
0Replaced by 1M1-84521-60-00 Доступно: Нет в наличии
-
2256-84714-61-00
Bulb (12V-27/8W)
1Replaced by 137-84714-61-XX Доступно: Нет в наличии
-
41M1-84523-60-00
Washer, Needle Valve
1Replaced by 3TJ-14457-00-00 Доступно: Нет в наличии
-
51M1-84524-60-00
Screw, Lens Fitting
2Replaced by 90157-04111-00 Доступно: Нет в наличии
