Carburator
Carburator
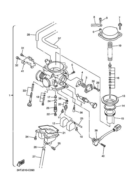
CARBURETOR ASSY (Ref #1)
1
Part #3HT-14901-30-00
Starter Set (Ref #2)
2
Part #3HT-1410A-00-00
Пружина дросселя (Ref #3)
3
Part #3HT-14934-00-00
DIAPHRAGM ASSY (Ref #4)
4
Part #5AP-14940-00-00
Jet,pilot Air (#100) (Ref #5)
5
Part #1HX-14231-20-00
RING (Ref #6)
6
Part #4KM-14194-00-00
BOLT (Ref #7)
7
Part #4KM-14216-00-00
PLATE (Ref #8)
8
Part #3UH-14146-00-00
Screw, Pan Head (Ref #9)
9
Part #98507-05014-00
Screw, Pan Head (Ref #10)
10
Part #98507-04008-00
BOLT (Ref #11)
11
Part #1FN-14565-00-00
. FLOAT (Ref #12)
12
Part #5DM-14985-00-00
DIAPHRAGM ASSY (Ref #13)
13
Part #5DM-14940-00-00
RING (Ref #14)
14
Part #5GH-14918-10-00
Клапан дросселя 1 (Ref #15)
15
Part #5LP-14112-00-00
Needle set (Ref #16)
16
Part #3HT-1490J-00-00
Nozzle, Main (Ref #17)
17
Part #21V-1414M-46-00
Pilot Screw Set (Ref #18)
18
Part #5MP-14105-00-00
Пружина диафрагмы (Ref #19)
19
Part #4XY-14933-00-00
Needle Valve Set (Ref #20)
20
Part #3HT-14107-00-00
Washer, Needle Valve (Ref #21)
21
Part #5DM-14561-00-00
Jet, Main (#162.5) (Ref #22)
22
Part #3G2-1423A-83-00
PLATE, SPLASH (Ref #23)
23
Part #3HT-14261-00-00
Washer, Needle Valve (Ref #24)
24
Part #583-14561-00-00
Штифт плавающий (Ref #25)
25
Part #127-14186-00-00
Стопор (Ref #26)
26
Part #55X-14937-00-00
HOSE (Ref #27)
27
Part #3HT-14987-00-00
. . VALVE, CHECK (Ref #28)
28
Part #3HT-14197-00-00
Screw, Pan Head (Ref #29)
29
Part #98580-04014-00
Washer, Plate (Ref #30)
30
Part #92990-04100-00
Screw, Pan Head (Ref #31)
31
Part #98580-04010-00
Screw, Pan Head (Ref #32)
32
Part #98517-05012-00
Screw, Pan Head (Ref #32)
32
Part #98580-05012-00
Throttle Screw Set (Ref #33)
33
Part #3HT-14103-00-00
Plug, Drain (Ref #35)
35
Part #12R-14191-10-00
Жиклерпроводник (Ref #36)
36
Part #4KM-14142-22-00
. . VALVE, CHECK (Ref #37)
37
Part #3HT-14197-10-00
Фильтр (Ref #38)
38
Part #1J7-14994-00-00
Датчик газа (Ref #39)
39
Part #4TX-85885-00-00
BOLT (Ref #40)
40
Part #4WM-14565-00-00
ブラケツト, クーラント パイプ (Ref #41)
41
Part #3HT-14995-00-00
-
2998501-04014-00
Screw, Pan Head
2Replaced by 98580-04014-00 Доступно: Нет в наличии
-
3198501-04010-00
Screw, Pan Head
1Replaced by 98580-04010-00 Доступно: Нет в наличии
-
3298501-05012-00
Screw, Pan Head
1Replaced by 98580-05012-00 Доступно: Нет в наличии
