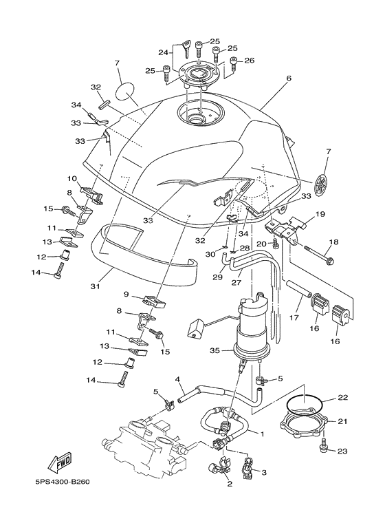
Fuel tank
Fuel tank
-
225JW-24486-00-00
Washer, Needle Valve
1Replaced by 19B-24486-01-00 Доступно: Нет в наличии
-
355PS-13907-00-00
Топливная помпа
1Replaced by 5PS-13907-10-00 Доступно: Нет в наличии
