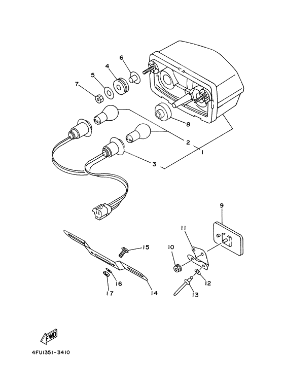
Taillight

Taillight

Taillight
+ -
  • 01
    3GM-84710-20-00

    Taillight Unit Assy

    1
    Доступно: Нет в наличии
  • 02
    3LK-8473A-00-00

    Гнездо

    0
    Доступно: Нет в наличии
  • 02
    36Y-84714-40-00

    Bulb

    2
    Replaced by 1A2-84714-50-00 Доступно: Нет в наличии
  • 02
    1A2-84714-41-00

    Bulb

    0
    Replaced by 3LK-8473A-00-00 Доступно: Нет в наличии
  • 02
    1A2-84714-50-00

    Bulb (12V-21/5W)

    2
    Доступно: Нет в наличии
  • 04
    90480-18276-00

    GROMMET

    2
    Доступно: Нет в наличии
  • 05
    90201-06071-00

    Washer, Plate

    2
    Replaced by 90201-063J2-00 Доступно: Нет в наличии
  • 05
    90201-063J2-00

    Washer, Plate

    2
    Доступно: Нет в наличии
  • 06
    90387-062W4-00

    COLLAR

    2
    Доступно: Нет в наличии
  • 07
    95317-06600-00

    Nut, flange

    2
    Доступно: Нет в наличии
  • 07
    95307-06600-00

    Nut, flange

    2
    Replaced by 95317-06600-00 Доступно: Нет в наличии
  • 08
    90480-10509-00

    GROMMET

    1
    Доступно: Нет в наличии
  • 08
    90480-15259-00

    GROMMET

    1
    Replaced by 90480-10509-00 Доступно: Нет в наличии
  • 09
    4KM-85130-00-00

    Rear Reflector Assy

    1
    Доступно: Нет в наличии
  • 10
    95707-05500-00

    Nut, flange

    1
    Доступно: Нет в наличии
  • 14
    3YF-84751-01-00

    Bracket, license

    1
    Доступно: Нет в наличии
  • 14
    3YF-84751-00-00

    Bracket, license

    1
    Replaced by 3YF-84751-01-00 Доступно: Нет в наличии
  • 15
    95027-06012-00

    BOLT

    2
    Доступно: Нет в наличии
  • 16
    90201-06380-00

    Washer, Plate

    2
    Доступно: Нет в наличии