Electrical 1
Electrical 1
-
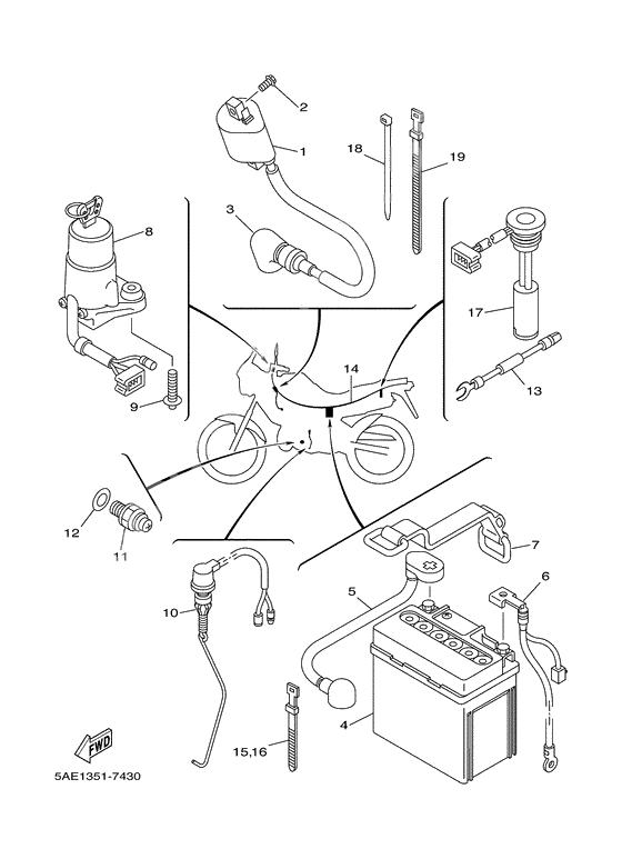
013RW-82310-10-00
Катушка зажигания
1Replaced by 3KJ-82310-10-00 Доступно: Нет в наличии
-
013KJ-82310-10-00
Катушка зажигания
1Replaced by 3KJ-82310-11-00 Доступно: Нет в наличии
-
0290153-06059-00
Винт шестиугольный
2Replaced by 90153-06022-00 Доступно: Нет в наличии
-
031M1-82370-30-00
Plug Cap Assy
2Replaced by 8DG-82370-00-00 Доступно: Нет в наличии
-
044FU-82100-01-00
Battery Assy (Ytx5L-Bs)
1Replaced by YTX-5LBS0-00-00 Доступно: Нет в наличии
-
054FU-82115-00-00
Wire, Plus Lead
1Replaced by 4BP-82115-00-00 Доступно: Нет в наличии
-
064FU-82116-00-00
Wire, Minus Lead
1Replaced by 4DN-82116-00-00 Доступно: Нет в наличии
-
073L8-82131-01-00
Обвязка, аккумулятор
1Replaced by 22F-82131-00-00 Доступно: Нет в наличии
-
084GW-82501-00-00
Main Switch Steering Lock
1Replaced by 4GW-82501-01-00 Доступно: Нет в наличии
-
11296-82540-02-00
Нейтральный переключатель
1Replaced by 4KM-82540-00-00 Доступно: Нет в наличии
-
173XP-85720-01-00
Oil Level Gauge Assy
1Replaced by 3XP-85720-03-00 Доступно: Нет в наличии
