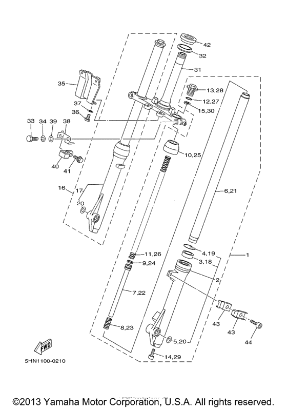
Front fork
Front fork
Front Fork Asy Lh (Ref #1)
1
Part #999-99032-37-00
Труба внешняя (Ref #2)
2
Part #999-99032-33-00
Oil seal (Ref #3)
3
Part #1RY-23145-00-00
Зажим сальника (Ref #4)
4
Part #3M7-23156-00-00
Washer, special (Ref #5)
5
Part #3R0-23392-00-00
Внутренняя трубка (Ref #6)
6
Part #21W-23110-00-00
Цилиндр, передняя вилка (Ref #7)
7
Part #5HN-23170-00-00
Spring, Pilot Adjusting (Ref #8)
8
Part #2J5-23151-00-00
Кольцо поршневое (Ref #9)
9
Part #2J5-23157-00-00
PLATE, SEAL DAMPER (Ref #10)
10
Part #3M7-23144-00-00
Пружина передней вилки (Ref #11)
11
Part #21W-23141-00-00
Washer, Needle Valve (Ref #12)
12
Part #93210-17570-00
Болт стакана (Ref #13)
13
Part #3M7-23111-01-00
Болт диагональный (Ref #14)
14
Part #3M7-23181-00-00
Уплотнение пружины верх. (Ref #15)
15
Part #3M7-23142-00-00
Fork Asy Rh (Ref #16)
16
Part #999-99032-38-00
Труба внешняя (Ref #17)
17
Part #999-99032-34-00
UNDER BRACKET COMP. (Ref #31)
31
Part #5HN-23340-00-00
PLATE, SEAL DAMPER (Ref #32)
32
Part #164-23462-00-00
Bolt 1 (Ref #33)
33
Part #451-23346-01-00
Washer, Plate (Ref #34)
34
Part #92990-10100-00
Стойка, плата (Ref #35)
35
Part #5HN-23486-00-00
Screw, With Washer (Ref #36)
36
Part #97017-06016-00
Washer, Plate (Ref #37)
37
Part #92907-06100-00
Bracket 1 (Ref #38)
38
Part #5HN-2334G-00-00
Шайба (Ref #39)
39
Part #929-90106-00-00
HOLDER (Ref #40)
40
Part #5HN-23857-00-00
BOLT (Ref #41)
41
Part #90105-05002-00
BEARING (Ref #42)
42
Part #93399-99942-00
CLAMP (Ref #43)
43
Part #90462-14055-00
CLAMP (Ref #43)
43
Part #90462-14055-00
CLAMP (Ref #43)
43
Part #90462-14055-00
CLAMP (Ref #43)
43
Part #90462-14055-00
BOLT (Ref #44)
44
Part #91317-06012-00
-
15HN-23102-00-00
Front Fork Asy Lh
1Replaced by 999-99032-37-00 Доступно: Нет в наличии
-
122J5-23147-00-00
Washer, Needle Valve
1Replaced by 93210-17570-00 Доступно: Нет в наличии
-
173RV-23136-00-00
Труба внешняя
1Replaced by 999-99032-34-00 Доступно: Нет в наличии
