Front brake caliper
Front brake caliper
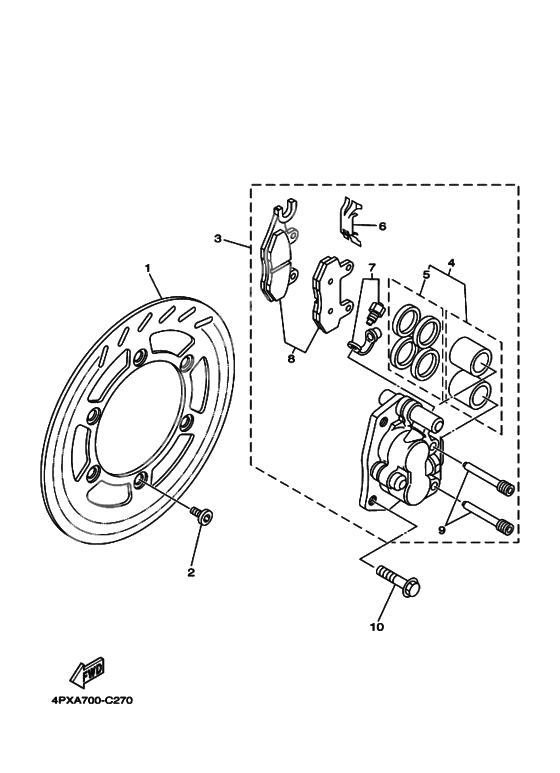
Тормозной диск (Ref #1)
1
Part #3XP-2582T-00-00
BOLT (Ref #2)
2
Part #90109-065F3-00
Caliper Assy (Left) (Ref #3)
3
Part #4GY-2580T-01-00
ピストン (Ref #4)
4
Part #4EW-W0057-00-00
Caliper Seal Kit (Ref #5)
5
Part #3JD-25803-00-00
Суппорт (Ref #6)
6
Part #3SP-25919-01-00
Bleed Screw Kit (Ref #7)
7
Part #36Y-W0048-00-00
Brake pad kit (Ref #8)
8
Part #4GY-W0045-00-00
. PIN (Ref #9)
9
Part #3GD-25933-00-00
Болт (Ref #10)
10
Part #95814-10040-00
-
53JD-W0047-00-00
Caliper Seal Kit
1Replaced by 3JD-25803-00-00 Доступно: Нет в наличии
-
71UY-W0048-50-00
Bleed Screw Kit
1Replaced by 36Y-W0048-00-00 Доступно: Нет в наличии
