Starter
Starter
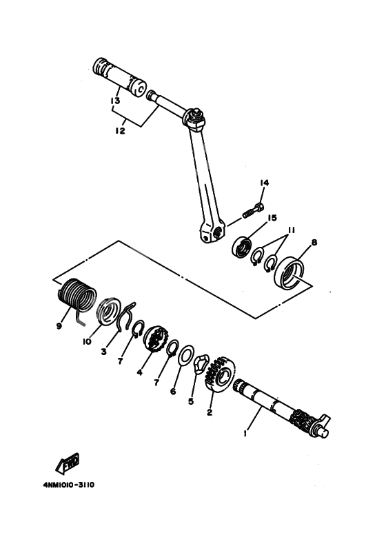
Ось ударный (Ref #1)
1
Part #22F-15660-00-00
GEAR, DRIVEN (Ref #2)
2
Part #29F-15641-00-00
CLIP (Ref #3)
3
Part #90468-23194-00
Wheel, Ratchet (Ref #4)
4
Part #296-15671-00-00
Washer, Plate (Ref #5)
5
Part #90206-19027-00
SHIM (Ref #6)
6
Part #296-15644-00-00
Circlip (Ref #7)
7
Part #99009-19400-00
Circlip (Ref #7)
7
Part #99009-19400-00
Circlip (Ref #7)
7
Part #99009-19400-00
Circlip (Ref #7)
7
Part #99009-19400-00
Крышка пружины (Ref #8)
8
Part #22F-15676-00-00
Spring, Pilot Adjusting (Ref #9)
9
Part #90508-263A8-00
Guide (Ref #10)
10
Part #22F-15664-00-00
Circlip(1Ar) (Ref #11)
11
Part #99009-15400-00
KICK CRANK ASSY (Ref #12)
12
Part #4BC-15620-00-00
Cover, Kick Lever (Ref #13)
13
Part #156-15618-01-00
Bolt, Hexagon (Ref #14)
14
Part #970-17060-25-00
Oil seal (Ref #15)
15
Part #93102-15147-00
-
125T9-15620-00-00
KICK CRANK ASSY
1Replaced by 4BC-15620-00-00 Доступно: Нет в наличии
