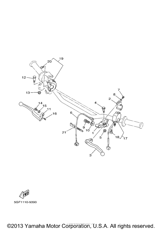
Пульт управления рулевой & Рычаг
Пульт управления рулевой & Рычаг
Держатель рукоятки 1 (Ref #1)
1
Part #1LN-82911-00-00
Держатель нижняя ручка 1 (Ref #2)
2
Part #33G-82913-01-00
Lever 1 (Ref #3)
3
Part #4GY-83912-00-00
Bolt (2Yk1) (Ref #4)
4
Part #90109-06799-00
Гайка U (Ref #5)
5
Part #95617-06100-00
Switch (Ref #6)
6
Part #4GY-82917-01-00
Screw, Pan Head (Ref #7)
7
Part #98517-05020-00
Washer, Plate (Ref #8)
8
Part #92907-05100-00
BOLT (Ref #9)
9
Part #90123-08046-00
Nut, flange (Ref #10)
10
Part #90179-08148-00
Lever 2 (Ref #11)
11
Part #55Y-83922-02-00
BOLT (Ref #12)
12
Part #90109-062A8-00
BOLT (Ref #14)
14
Part #90149-06131-00
Nut, flange (Ref #15)
15
Part #90170-06010-00
Spring, Compression (Ref #16)
16
Part #90501-10312-00
Кнопка (Ref #17)
17
Part #5GF-83976-00-00
Screw, Pan Head (Ref #18)
18
Part #98507-04014-00
Кнопка (Ref #19)
19
Part #3LD-83975-11-00
BOLT (Ref #20)
20
Part #98507-05018-00
Комплект переключателяя (Ref #21)
21
Part #437-83936-01-00
-
2098506-05018-00
Screw, Pan Head
2Replaced by 98507-05018-00 Доступно: Нет в наличии
